专利数据库
统计分析
产业报告
专利数据监控
产业人才
行业动态
产业政策法规
维权援助
个人中心
详情
文本
图像
标题
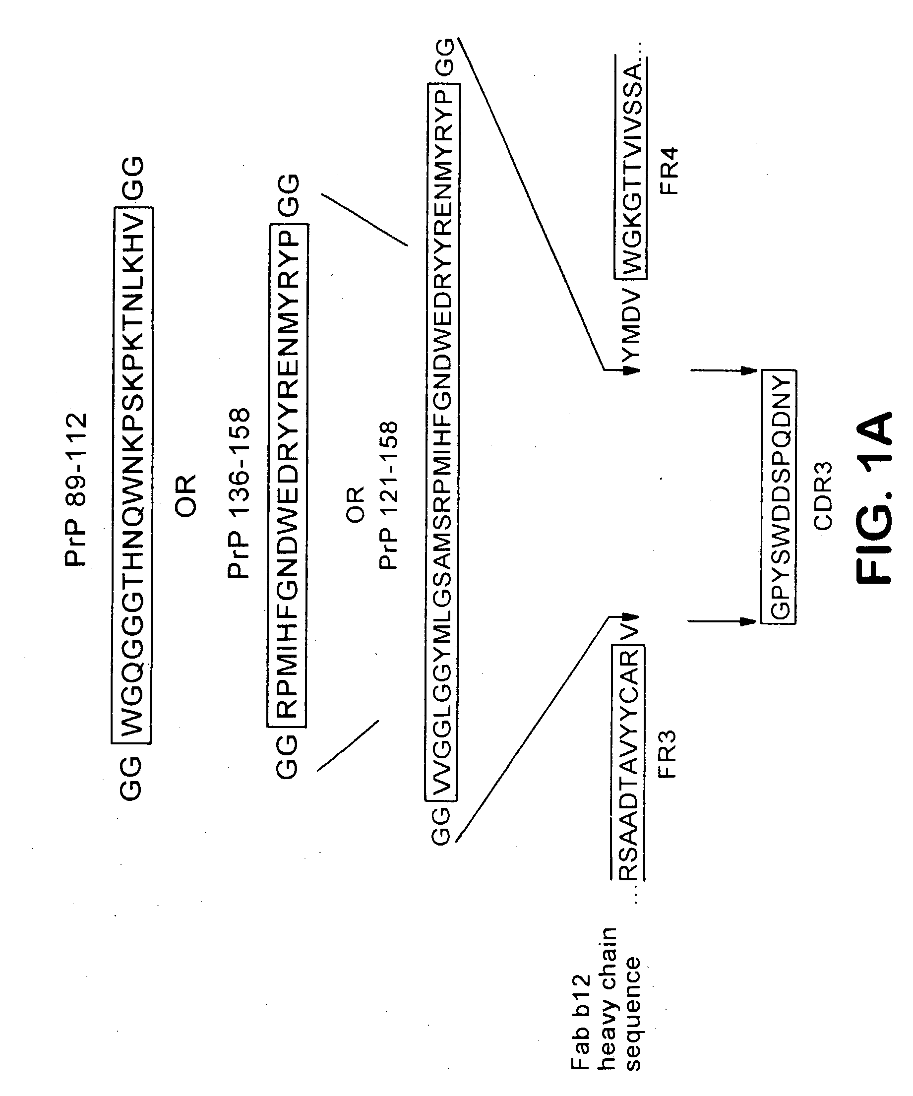
Motif-grafted hybrid polypeptides and uses thereof
授权日
1900-01-01
公开(公告)号
US20030215880A1
申请日
2003-04-08
公开(公告)日
2003-11-20
当前申请(专利权)人
THE SCRIPPS RESEARCH INSTITUTE
发明人
BURTON, DENNIS R. | MORONCINI, GIANLUCA | WILLIAMSON, R. ANTHONY
简单同族
AT544780T | AU2003231995A1 | AU2003231995B2 | CA2481437A1 | EP1572937A2 | EP1572937A4 | EP1572937B1 | EP2301959A2 | EP2301959A3 | ES2380925T3 | JP2005522197A | JP2005522197A5 | JP2009142285A | JP2012010704A | JP4421900B2 | NZ536054A | NZ536054B | US20030215880A1 | US20110250630A1 | US7939641 | WO2003085086A2 | WO2003085086A3 | WO2003085086A9 | ZA200408456B
简单同族成员数量
24
简单同族被引用专利总数
70
诉讼案件数
0
法律状态/事件
未缴年费 | 权利转移
抱歉,您的浏览器不支持PDF预览,请点击链接下载PDF文件