专利数据库
统计分析
产业报告
专利数据监控
产业人才
行业动态
产业政策法规
维权援助
个人中心
详情
文本
图像
标题
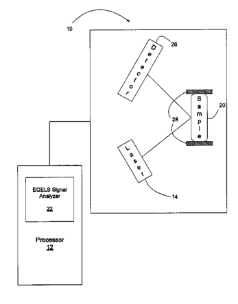
Electrophoretic interactive spectral methods and devices for the detection and/or characterization of biological particles
授权日
2013-10-08
公开(公告)号
US8551405
申请日
2009-07-30
公开(公告)日
2013-10-08
当前申请(专利权)人
THE UNIVERSITY OF NORTH CAROLINA AT CHAPEL HILL
发明人
GABRIEL, DON A.
简单同族
US20050250095A1 | US20090291430A1 | US20100190148A1 | US20100203499A1 | US7771660 | US8455207 | US8551405 | US8551406 | WO2005108627A2 | WO2005108627A3
简单同族成员数量
10
简单同族被引用专利总数
40
诉讼案件数
0
法律状态/事件
授权
抱歉,您的浏览器不支持PDF预览,请点击链接下载PDF文件