专利数据库
统计分析
产业报告
专利数据监控
产业人才
行业动态
产业政策法规
维权援助
个人中心
详情
文本
图像
标题
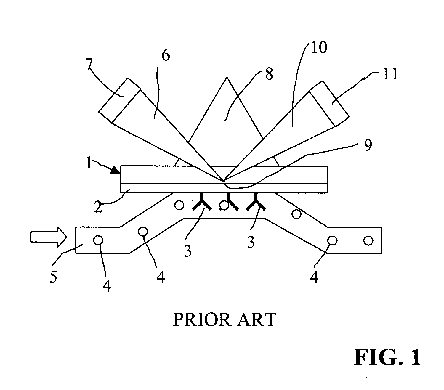
Method for detecting molecular surface interactions
授权日
1900-01-01
公开(公告)号
US20060019313A1
申请日
2005-06-22
公开(公告)日
2006-01-26
当前申请(专利权)人
GE HEALTHCARE BIO-SCIENCES AB
发明人
ANDERSSON, KARL | MOBERG, ANNA
简单同族
AU2005257705A1 | EP1766398A1 | EP1766398B1 | US20060019313A1 | WO2006001749A1
简单同族成员数量
5
简单同族被引用专利总数
34
诉讼案件数
0
法律状态/事件
撤回 | 权利转移
抱歉,您的浏览器不支持PDF预览,请点击链接下载PDF文件