专利数据库
统计分析
产业报告
专利数据监控
产业人才
行业动态
产业政策法规
维权援助
个人中心
详情
文本
图像
标题
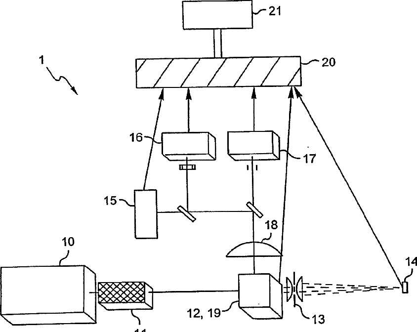
Method and Device for Characterizing Cellular Components of a Biological Fluid
授权日
1900-01-01
公开(公告)号
US20080124745A1
申请日
2005-07-06
公开(公告)日
2008-05-29
当前申请(专利权)人
HORIBA ABX SAS
发明人
LEFEVRE, DIDIER
简单同族
CA2576753A1 | CN1993610A | CN1993610B | EP1771718A1 | FR2873813A1 | FR2873813B1 | JP2008507966A | JP5281286B2 | US20080124745A1 | US8008029 | WO2006024716A1
简单同族成员数量
11
简单同族被引用专利总数
35
诉讼案件数
0
法律状态/事件
授权 | 权利转移
抱歉,您的浏览器不支持PDF预览,请点击链接下载PDF文件