专利数据库
统计分析
产业报告
专利数据监控
产业人才
行业动态
产业政策法规
维权援助
个人中心
详情
文本
图像
标题
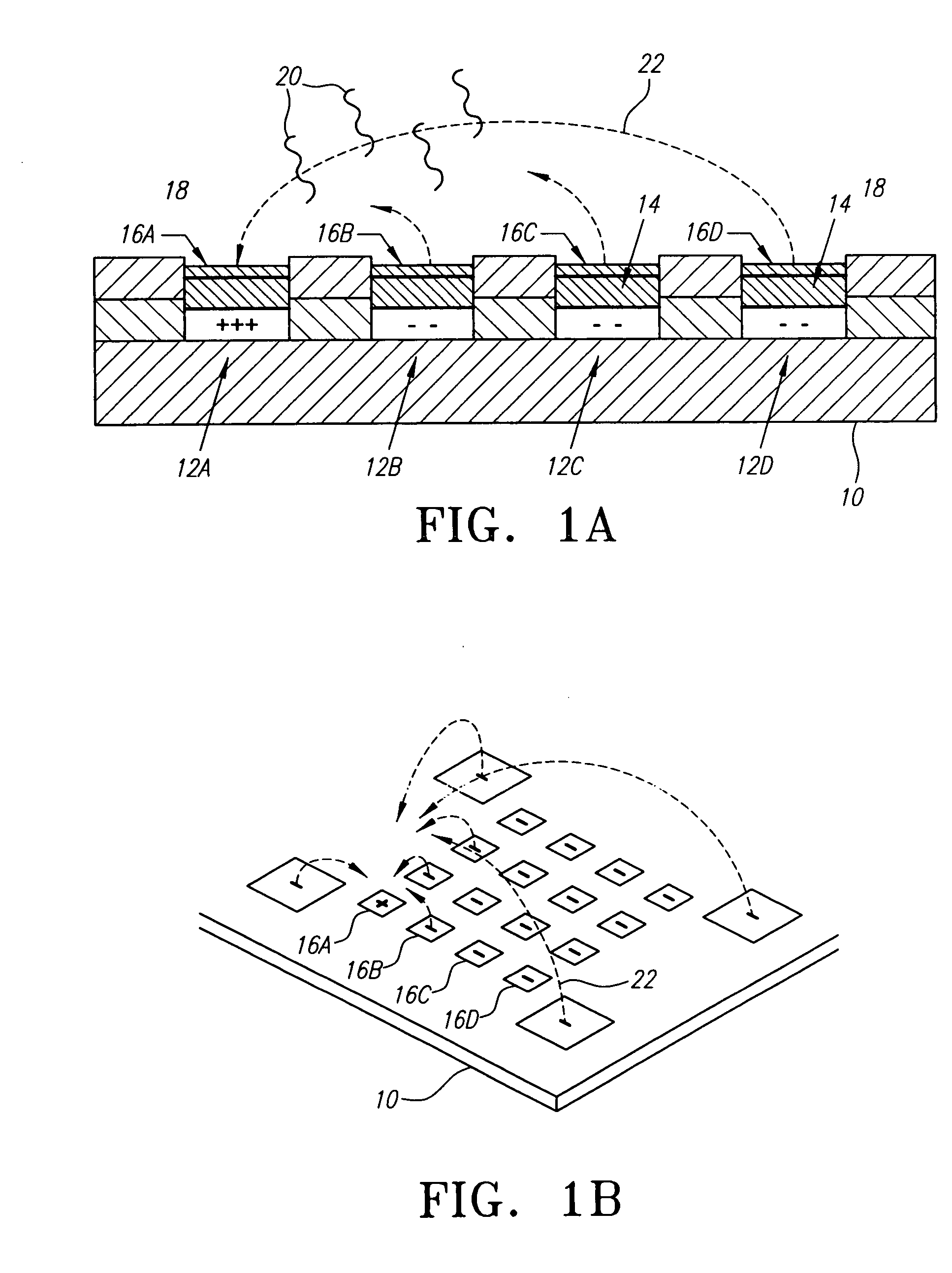
Amplification and separation of nucleic acid sequences using strand displacement amplification and bioelectronic microchip technology
授权日
1900-01-01
公开(公告)号
US20060110754A1
申请日
2005-10-14
公开(公告)日
2006-05-25
当前申请(专利权)人
NANOGEN, INC.
发明人
NERENBERG, MICHAEL I. | EDMAN, CARL F. | SPARGO, CATHERINE A. | WALKER, GEORGE TERRANCE
简单同族
CA2369016A1 | EP1177423A1 | EP1177423A4 | JP2002541475A | US20030104430A1 | US20060110754A1 | WO2000062036A1 | WO2000062036A9
简单同族成员数量
8
简单同族被引用专利总数
33
诉讼案件数
0
法律状态/事件
撤回 | 质押
抱歉,您的浏览器不支持PDF预览,请点击链接下载PDF文件