专利数据库
统计分析
产业报告
专利数据监控
产业人才
行业动态
产业政策法规
维权援助
个人中心
详情
文本
图像
标题
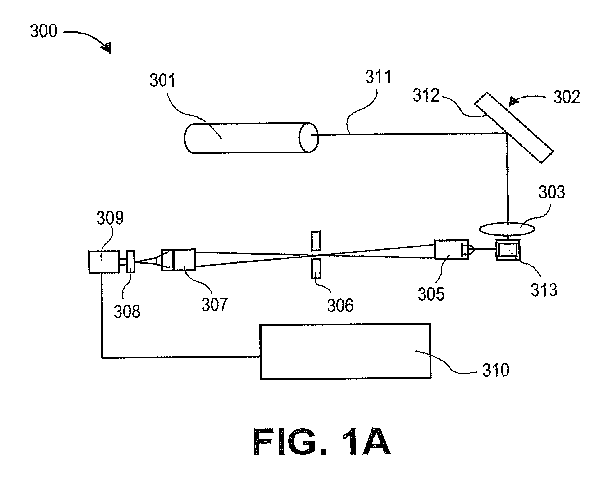
Highly sensitive system and method for analysis of troponin
授权日
2013-09-17
公开(公告)号
US8535895
申请日
2012-11-02
公开(公告)日
2013-09-17
当前申请(专利权)人
SINGULEX, INC.
发明人
GOIX, PHILIPPE | PUSKAS, ROBERT | TODD, JOHN | LIVINGSTON, RICHARD | HELD, DOUGLAS | WU, ALLAN H. B.
简单同族
US20080261242A1 | US20100297672A9 | US20110111524A1 | US20130130403A1 | US20130288383A1 | US20160202270A1 | US20180100862A1 | US7838250 | US8343728 | US8535895 | US9182405 | US9719999
简单同族成员数量
12
简单同族被引用专利总数
77
诉讼案件数
0
法律状态/事件
授权 | 质押 | 许可 | 权利转移
抱歉,您的浏览器不支持PDF预览,请点击链接下载PDF文件