专利数据库
统计分析
产业报告
专利数据监控
产业人才
行业动态
产业政策法规
维权援助
个人中心
详情
文本
图像
标题
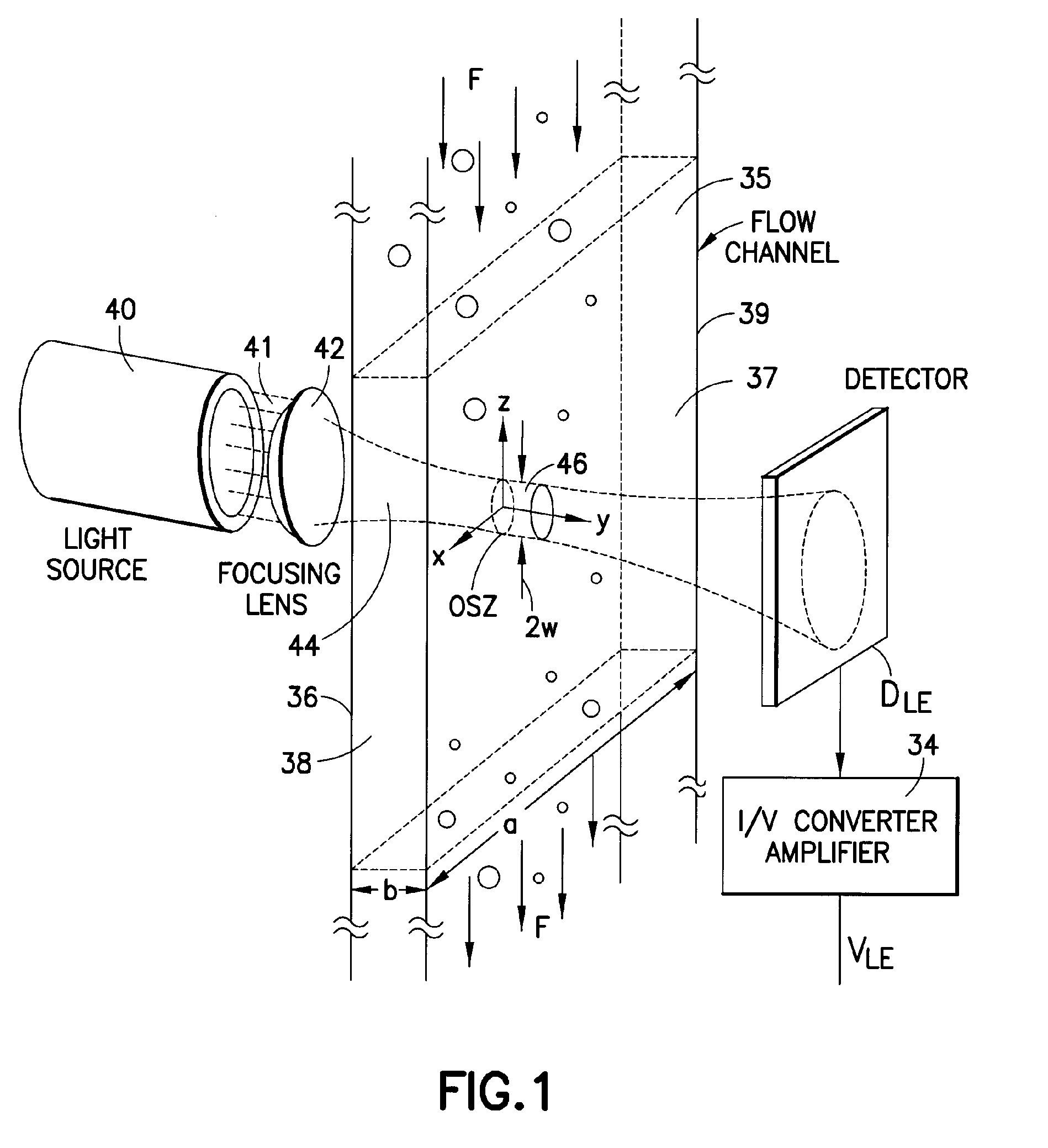
Use of focused light scattering techniques in biological applications
授权日
1900-01-01
公开(公告)号
US20100035235A1
申请日
2009-07-14
公开(公告)日
2010-02-11
当前申请(专利权)人
INVITROX, INC.
发明人
GABRIEL, DON
简单同族
CA2733296A1 | CN102203587A | EP2321629A2 | JP2012500385A | JP2012500385A5 | TW201017149A | US10359349 | US20100035235A1 | US20140377741A1 | US20170023456A1 | US20170276586A1 | US8828737 | US9459252 | US9683920 | WO2010017001A2 | WO2010017001A3
简单同族成员数量
16
简单同族被引用专利总数
42
诉讼案件数
0
法律状态/事件
授权 | 权利转移
抱歉,您的浏览器不支持PDF预览,请点击链接下载PDF文件