专利数据库
统计分析
产业报告
专利数据监控
产业人才
行业动态
产业政策法规
维权援助
个人中心
详情
文本
图像
标题
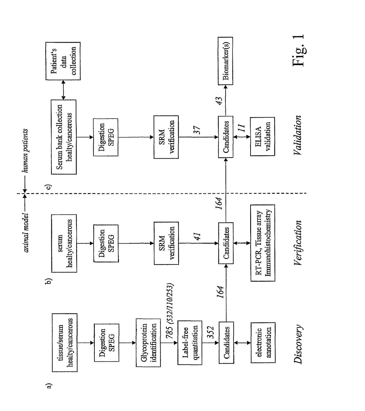
Method for biomarker and drug-target discovery for prostate cancer diagnosis and treatment as well as biomarker assays determined therewith
授权日
2018-12-11
公开(公告)号
US10151755
申请日
2016-06-01
公开(公告)日
2018-12-11
当前申请(专利权)人
ETH ZURICH | KANTONSSPITAL ST. GALLEN
发明人
KREK, WILHELM | CIMA, IGOR | AEBERSOLD, RUDOLF | SCHIESS, RALPH | CERNY, THOMAS | GILLESSEN, SILKE
简单同族
CA2724433A1 | CN102027373A | CN102027373B | EP2281201A1 | EP2281201B1 | JP2011521215A | JP2013140170A | JP6025607B2 | US10151755 | US20110065605A1 | US20140322732A1 | US20160274117A1 | US9377463 | WO2009138392A1
简单同族成员数量
14
简单同族被引用专利总数
31
诉讼案件数
0
法律状态/事件
授权
抱歉,您的浏览器不支持PDF预览,请点击链接下载PDF文件