专利数据库
统计分析
产业报告
专利数据监控
产业人才
行业动态
产业政策法规
维权援助
个人中心
详情
文本
图像
标题
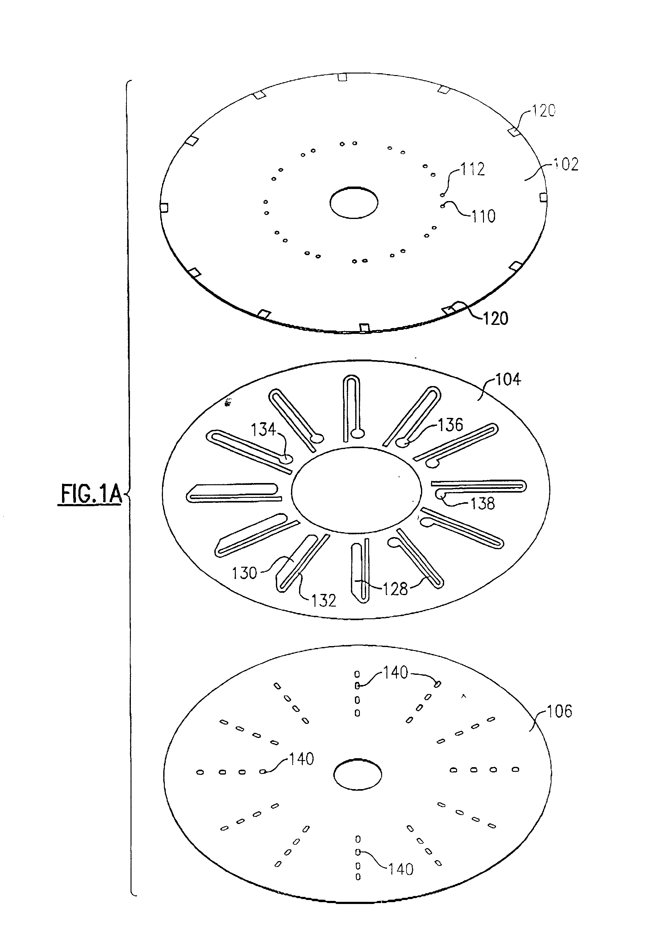
Methods and apparatus for detecting and quantifying lymphocytes with optical biodiscs
授权日
1900-01-01
公开(公告)号
US20030104486A1
申请日
2001-11-20
公开(公告)日
2003-06-05
当前申请(专利权)人
NAGAOKA & CO., LTD.
发明人
SELVAN, GOWRI PYAPALI
简单同族
AU2002241602A1 | US20030104486A1 | WO2002044695A1
简单同族成员数量
3
简单同族被引用专利总数
45
诉讼案件数
0
法律状态/事件
撤回 | 权利转移
抱歉,您的浏览器不支持PDF预览,请点击链接下载PDF文件