专利数据库
统计分析
产业报告
专利数据监控
产业人才
行业动态
产业政策法规
维权援助
个人中心
详情
文本
图像
标题
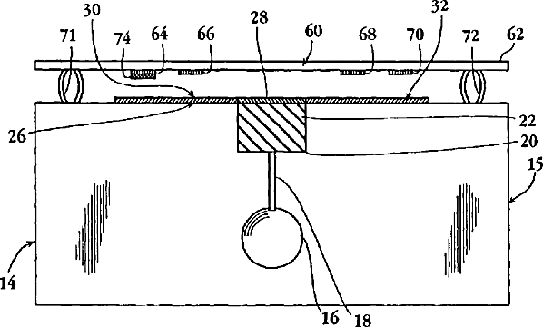
High-density lipoprotein assay device and method
授权日
2005-04-19
公开(公告)号
US6881581
申请日
2003-01-17
公开(公告)日
2005-04-19
当前申请(专利权)人
ALERE SAN DIEGO, INC
发明人
JONES, RONALD M. | WORTHY, THOMAS E. | NUGENT, ANTHONY J.
简单同族
AT297018T | AU2003210544A1 | AU2003210544B2 | CA2473244A1 | CA2473244C | DE10204606C1 | DE60204418D1 | DE60204418T2 | DK1329724T3 | EP1329724A2 | EP1329724A3 | EP1329724B1 | ES2241911T3 | HK1057610A | HK1057610A1 | JP2005515453A | JP4379588B2 | KR100990888B1 | KR1020040090974A | PT1329724E | US20030166291A1 | US20050208609A1 | US6881581 | US7582484 | WO2003061569A2 | WO2003061569A3
简单同族成员数量
26
简单同族被引用专利总数
52
诉讼案件数
0
法律状态/事件
授权 | 质押 | 权利转移
抱歉,您的浏览器不支持PDF预览,请点击链接下载PDF文件