专利数据库
统计分析
产业报告
专利数据监控
产业人才
行业动态
产业政策法规
维权援助
个人中心
详情
文本
图像
标题
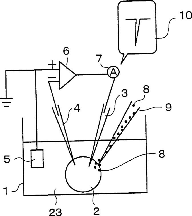
Histamine measuring apparatus and a histamine measuring method
授权日
1900-01-01
公开(公告)号
US20010005580A1
申请日
2001-02-21
公开(公告)日
2001-06-28
当前申请(专利权)人
HITACHI, LTD.
发明人
TAKESHITA, TOMOKO | OTOMO, JUN
简单同族
JP2001013136A | JP3707303B2 | US20010004524A1 | US20010004525A1 | US20010005580A1 | US20010006774A1 | US20010016313A1 | US20020025574A1 | US6268121 | US6277559 | US6329154 | US6329194 | US6337178 | US6338960 | US6420168
简单同族成员数量
15
简单同族被引用专利总数
38
诉讼案件数
0
法律状态/事件
未缴年费
抱歉,您的浏览器不支持PDF预览,请点击链接下载PDF文件