专利数据库
统计分析
产业报告
专利数据监控
产业人才
行业动态
产业政策法规
维权援助
个人中心
详情
文本
图像
标题
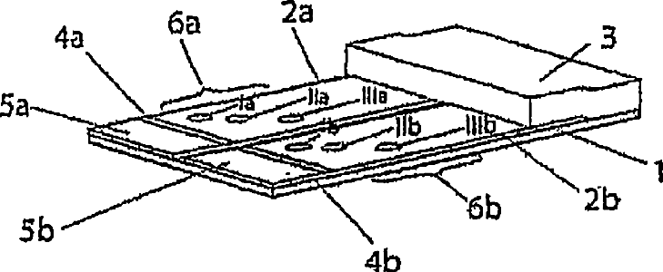
Device and method for simultaneously identifying blood group antigens
授权日
2011-11-08
公开(公告)号
US8053226
申请日
2004-07-08
公开(公告)日
2011-11-08
当前申请(专利权)人
GRIFOLS DIAGNOSTIC SOLUTIONS INC.
发明人
SCHWIND, PETER | LOSTER, KLEMENS
简单同族
AT514092T | AU2004256210A1 | AU2004256210B2 | AU2004256210B9 | BRPI0411866A2 | BRPI0411866B1 | CA2531688A1 | CA2531688C | CN1816746A | CN1816746B | CY1112563T1 | DE10330982A1 | DK1646876T3 | EG24046A | EP1646876A1 | EP1646876B1 | ES2368715T3 | HK1094721A | HK1094721A1 | IL172998A | IL172998D0 | JP2009513939A | JP5090734B2 | KR101214620B1 | KR1020060059958A | NZ544545A | NZ544545B | PL1646876T3 | PT1646876E | RU2006103022A | RU2353293C2 | SG118830A1 | US20070248983A1 | US8053226 | WO2005005991A1 | ZA200601129B
简单同族成员数量
36
简单同族被引用专利总数
65
诉讼案件数
0
法律状态/事件
授权 | 许可 | 权利转移
抱歉,您的浏览器不支持PDF预览,请点击链接下载PDF文件