专利数据库
统计分析
产业报告
专利数据监控
产业人才
行业动态
产业政策法规
维权援助
个人中心
详情
文本
图像
标题
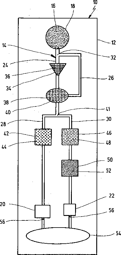
Analytical test element and method for blood analyses
授权日
1900-01-01
公开(公告)号
US20040191124A1
申请日
2004-02-06
公开(公告)日
2004-09-30
当前申请(专利权)人
ROCHE DIAGNOSTICS OPERATIONS, INC.
发明人
NOETZEL, SIEGFRIED | BOGARDI, JEAN-PHILIPPE | MANGOLD, DIETER
简单同族
AT355126T | CA2456695A1 | CA2456695C | DE10305050A1 | DE502004002997D1 | EP1445020A1 | EP1445020B1 | ES2281698T3 | JP2004239904A | JP2008216269A | JP4192103B2 | US20040191124A1 | US20090087901A1 | US7479393 | US7641862
简单同族成员数量
15
简单同族被引用专利总数
94
诉讼案件数
0
法律状态/事件
授权 | 权利转移
抱歉,您的浏览器不支持PDF预览,请点击链接下载PDF文件