专利数据库
统计分析
产业报告
专利数据监控
产业人才
行业动态
产业政策法规
维权援助
个人中心
详情
文本
图像
标题
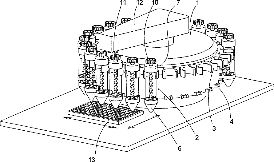
Sample Plate Systems and Methods
授权日
1900-01-01
公开(公告)号
US20140171344A1
申请日
2013-09-12
公开(公告)日
2014-06-19
当前申请(专利权)人
DYNEX TECHNOLOGIES, INC.
发明人
BUNCE, ADRIAN | FUSELLIER, ANDREW
简单同族
BR112012002099A2 | BR112012002099B1 | CN101988921A | CN101988921B | CN102648052A | CN102648052B | CN202033365U | DE202010004968U1 | DE202010018104U1 | EP2279790A1 | EP2279790B1 | EP2279790B8 | EP2459314A1 | EP2459314B1 | EP2459314B8 | EP2572785A1 | GB0913258D0 | GB0917555D0 | GB201006087D0 | GB201203478D0 | GB2472882A | GB2472882B | GB2485325A | GB2485325B | HK1174301A | HK1174301A1 | IN323556B | IN834DELNP2012A | JP2012527607A | JP5129896B2 | RU113010U1 | RU113010U8 | RU2010114864A | RU2012104848A | RU2476889C2 | RU2537234C2 | UA101958C2 | UA56577U | US20110027914A1 | US20130040834A1 | US20140171344A1 | US20180120311A1 | US8541246 | US9244069 | US9857367 | WO2011012859A1
简单同族成员数量
46
简单同族被引用专利总数
42
诉讼案件数
0
法律状态/事件
授权 | 质押 | 权利转移
抱歉,您的浏览器不支持PDF预览,请点击链接下载PDF文件