专利数据库
统计分析
产业报告
专利数据监控
产业人才
行业动态
产业政策法规
维权援助
个人中心
详情
文本
图像
标题
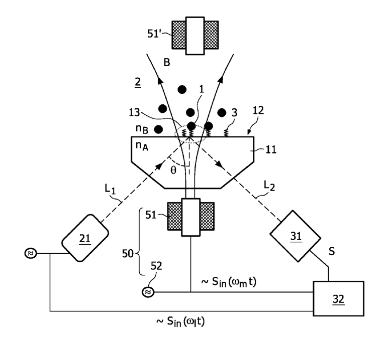
Microelectronic sensor device for the detection of target particles
授权日
1900-01-01
公开(公告)号
US20100267165A1
申请日
2008-10-31
公开(公告)日
2010-10-21
当前申请(专利权)人
KONINKLIJKE PHILIPS ELECTRONICS N V
发明人
BRULS, DOMINIQUE MARIA | SCHLEIPEN, JOHANNES JOSEPH HUBERTINA BARBARA | KAHLMAN, JOSEPHUS ARNOLDUS HENRICUS MARIA | PRINS, MENNO WILLEM JOSE
简单同族
BRPI0822092A2 | CN101903758A | CN101903758B | EP2225547A2 | EP2225547B1 | JP2011508199A | JP2011508199A5 | RU2010130170A | RU2489704C2 | US20100267165A1 | US8486689 | WO2009083814A2 | WO2009083814A3
简单同族成员数量
13
简单同族被引用专利总数
51
诉讼案件数
0
法律状态/事件
授权 | 权利转移
抱歉,您的浏览器不支持PDF预览,请点击链接下载PDF文件