专利数据库
统计分析
产业报告
专利数据监控
产业人才
行业动态
产业政策法规
维权援助
个人中心
详情
文本
图像
标题
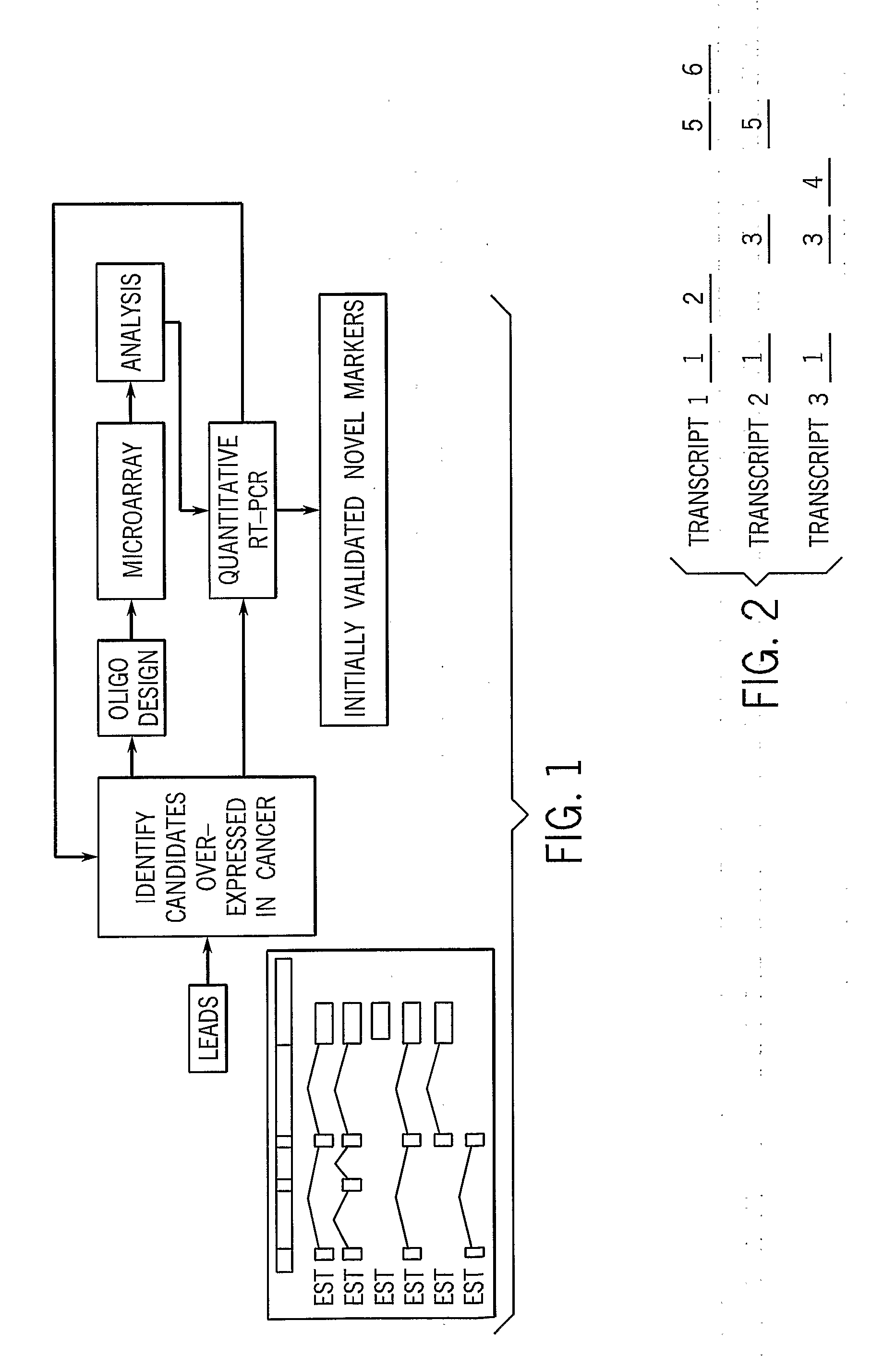
Novel nucleotide and amino acid sequences, and assays and methods of use thereof for diagnosis
授权日
1900-01-01
公开(公告)号
US20090215042A1
申请日
2006-06-08
公开(公告)日
2009-08-27
当前申请(专利权)人
COMPUGEN LTD.
发明人
SELLA-TAVOR, OSNAT | POLLOCK, SARAH | COJOCARU, GAD S. | NOVIK, AMIT | BAZAK, LILY | TSYPKIN, ELENA | WALLACH, SHIRA | SAMEAH-GREENWALD, SHIRLEY
简单同族
AU2006256374A1 | CA2611409A1 | EP1891218A2 | US20090215042A1 | WO2006131928A2 | WO2006131928A3 | WO2006131928A8
简单同族成员数量
7
简单同族被引用专利总数
48
诉讼案件数
0
法律状态/事件
撤回 | 权利转移
抱歉,您的浏览器不支持PDF预览,请点击链接下载PDF文件