专利数据库
统计分析
产业报告
专利数据监控
产业人才
行业动态
产业政策法规
维权援助
个人中心
详情
文本
图像
标题
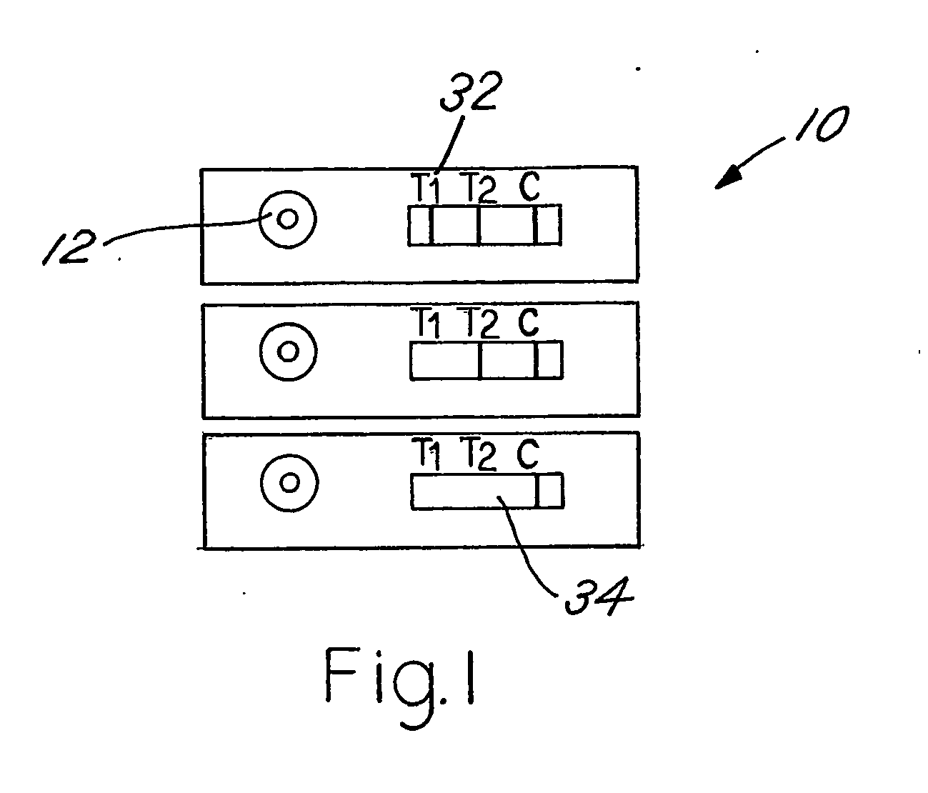
Rapid lateral flow assay for determining exposure to mycobacterium tuberculosis and other mycobacteria
授权日
2012-03-28
公开(公告)号
EP1478395B1
申请日
2003-01-27
公开(公告)日
2012-03-28
当前申请(专利权)人
THE GOVERNMENT OF THE UNITED STATES OF AMERICA AS REPRESENTED BY THE NAVY MEDICAL RESEARCH CENTER OFFICE OF COUNSEL
发明人
SIMONSON, LLOYD, G.
简单同族
AT551070T | AU2003210662A1 | EP1478395A2 | EP1478395A4 | EP1478395B1 | US20030143652A1 | US6841159 | WO2003065002A2 | WO2003065002A3
简单同族成员数量
9
简单同族被引用专利总数
63
诉讼案件数
0
法律状态/事件
授权
抱歉,您的浏览器不支持PDF预览,请点击链接下载PDF文件