专利数据库
统计分析
产业报告
专利数据监控
产业人才
行业动态
产业政策法规
维权援助
个人中心
详情
文本
图像
标题
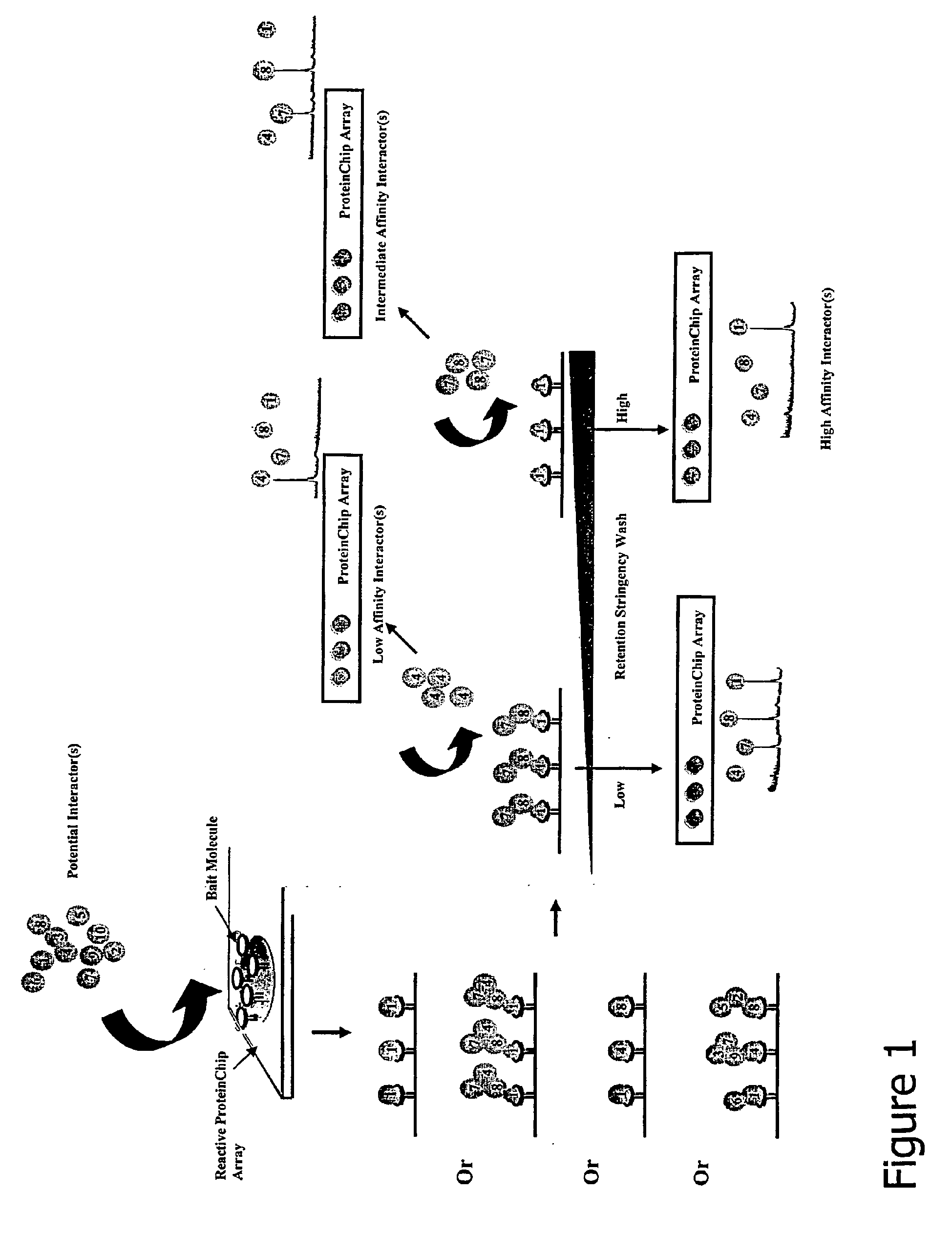
Protein interaction difference mapping
授权日
2009-03-25
公开(公告)号
EP1552302B1
申请日
2003-07-23
公开(公告)日
2009-03-25
当前申请(专利权)人
BIO-RAD LABORATORIES, INC.
发明人
RICH, WILLIAM | BOSCHETTI, EGISTO | LOMAS, LEE, O. | YIP, TAI-TUNG
简单同族
AT426808T | AU2003256806A1 | AU2003256806A8 | DE60326864D1 | EP1552302A2 | EP1552302A4 | EP1552302B1 | JP2005534043A | JP4587954B2 | US20040146937A1 | US7348184 | WO2004009798A2 | WO2004009798A3
简单同族成员数量
13
简单同族被引用专利总数
35
诉讼案件数
0
法律状态/事件
授权 | 权利转移
抱歉,您的浏览器不支持PDF预览,请点击链接下载PDF文件