专利数据库
统计分析
产业报告
专利数据监控
产业人才
行业动态
产业政策法规
维权援助
个人中心
详情
文本
图像
标题
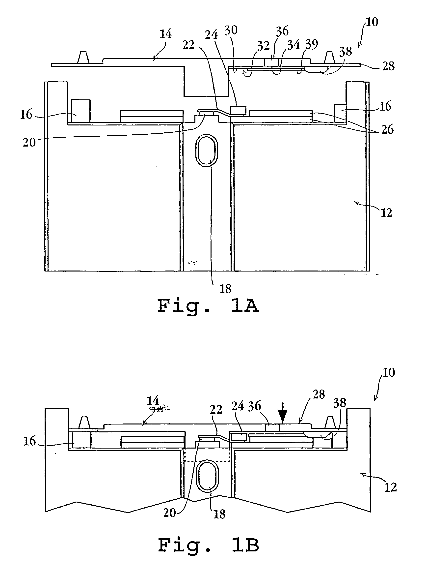
Automated immunoassay cassette, apparatus and method
授权日
2008-10-15
公开(公告)号
EP1546722B1
申请日
2003-06-06
公开(公告)日
2008-10-15
当前申请(专利权)人
CHOLESTECH CORPORATION
发明人
NUGENT, ANTHONY, J. | COWLEY, LEANNE, M. | BELLET, NEAL, F. | SHINDELMAN, JEFFREY | LEOS, MICHAEL, E. | WORTHY, THOMAS, E. | HALEY, KIMBERLY
简单同族
AT411377T | AT421570T | AU2003251406A1 | AU2003251406B2 | CA2486515A1 | CA2486515C | DE60230966D1 | DE60324169D1 | EP1369473A2 | EP1369473A3 | EP1369473B1 | EP1546722A2 | EP1546722A4 | EP1546722B1 | ES2316806T3 | ES2321696T3 | HK1061043A | HK1061043A1 | HK1076864A | HK1076864A1 | JP2005529325A | JP4532266B2 | KR101045227B1 | KR1020050010510A | TW200404096A | TWI313298B | US20040029293A1 | US7220595 | WO2003104764A2 | WO2003104764A3
简单同族成员数量
30
简单同族被引用专利总数
36
诉讼案件数
0
法律状态/事件
授权
抱歉,您的浏览器不支持PDF预览,请点击链接下载PDF文件