专利数据库
统计分析
产业报告
专利数据监控
产业人才
行业动态
产业政策法规
维权援助
个人中心
详情
文本
图像
标题
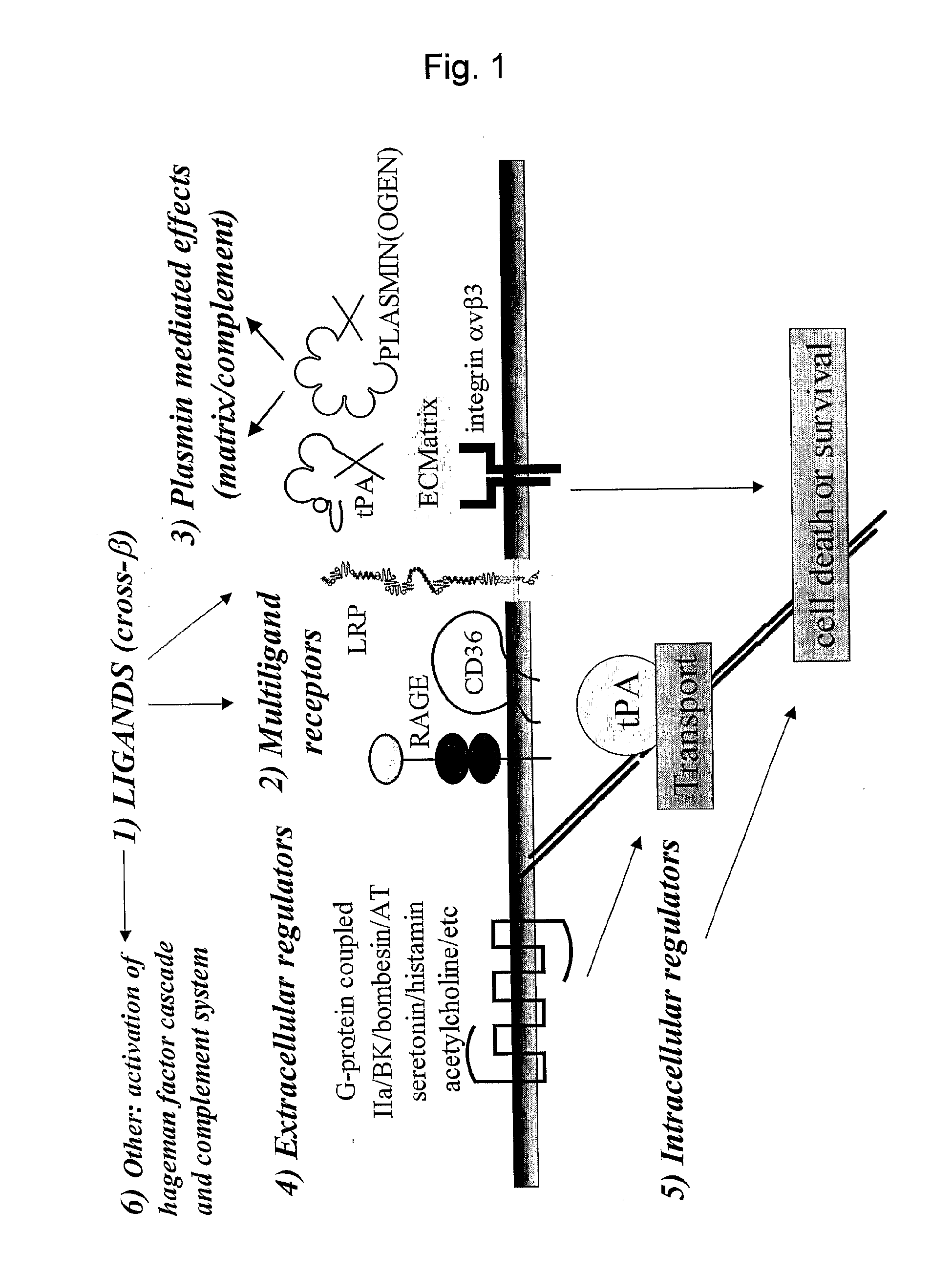
Methods for detecting cross beta structure comprising proteins with crossbeta structure binding compounds.
授权日
1900-01-01
公开(公告)号
EP2341348A1
申请日
2003-07-08
公开(公告)日
2011-07-06
当前申请(专利权)人
CROSSBETA BIOSCIENCES B.V.
发明人
GEBBINK, MARTIJN FRANS BEN GERARD | BOUMA, BAREND | KRANENBURG, ONNO WOUTER | KROON, LOUISE MARIA JOHANNA
简单同族
AT417605T | AU2003251233A1 | AU2003251233B2 | AU2010200343A1 | CA2492010A1 | DE60325381D1 | DK1536778T3 | EP1380290A1 | EP1536778A2 | EP1536778B1 | EP1978362A2 | EP1978362A3 | EP2322154A2 | EP2322154A3 | EP2341348A1 | ES2319982T3 | JP2005537254A | NZ537495A | NZ537495B | NZ561168A | NZ561168B | PT1536778E | US20060045853A1 | US20080241165A1 | US20120189615A1 | US8158585 | WO2004004698A2 | WO2004004698A3 | ZA200500062B
简单同族成员数量
29
简单同族被引用专利总数
56
诉讼案件数
0
法律状态/事件
撤回
抱歉,您的浏览器不支持PDF预览,请点击链接下载PDF文件