专利数据库
统计分析
产业报告
专利数据监控
产业人才
行业动态
产业政策法规
维权援助
个人中心
详情
文本
图像
标题
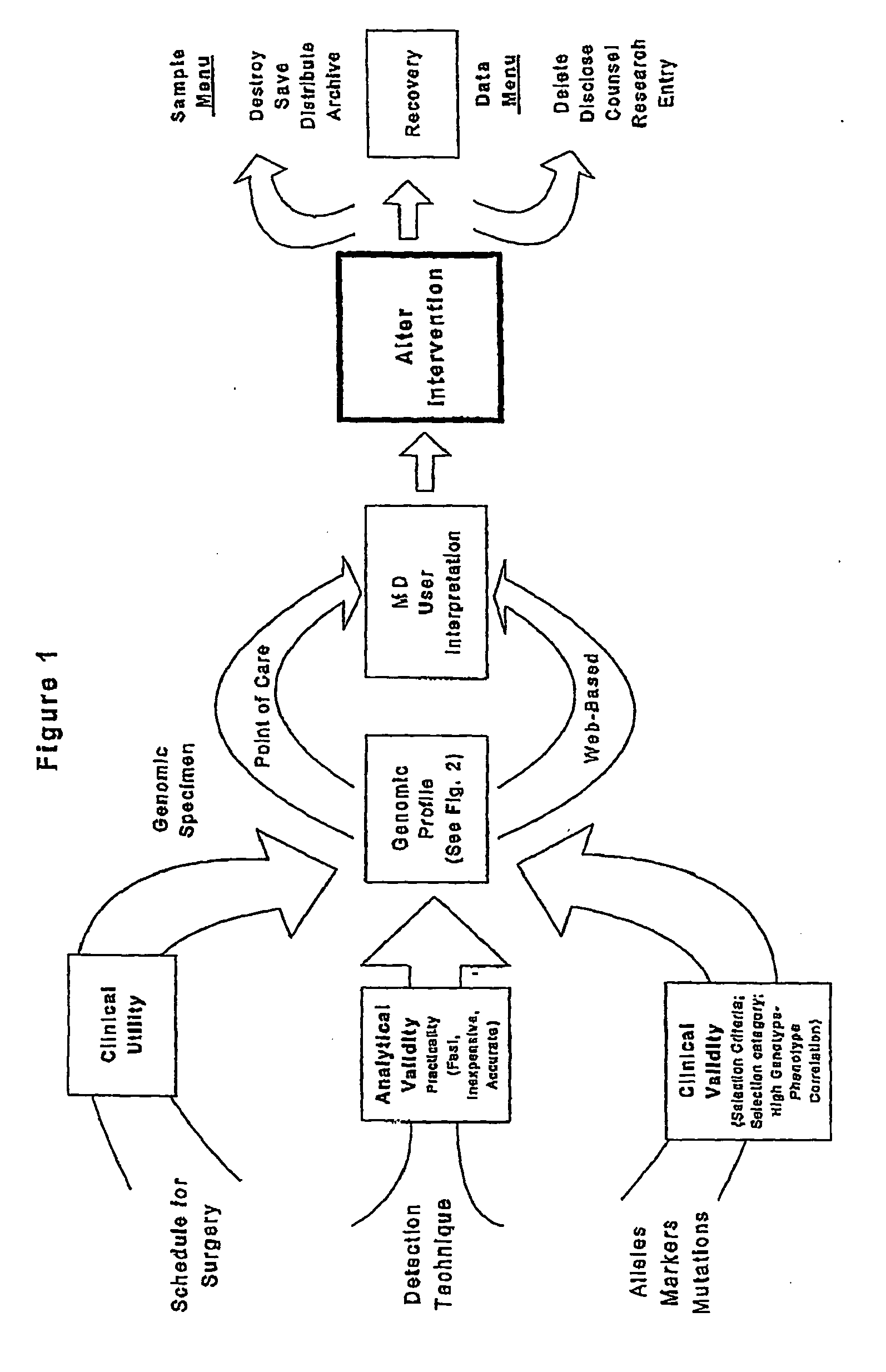
Methods and compositions for perioperative genomic profiling
授权日
1900-01-01
公开(公告)号
EP1930447A2
申请日
2001-07-10
公开(公告)日
2008-06-11
当前申请(专利权)人
HOGAN, KIRK
发明人
HOGAN, KIRK
简单同族
AT349551T | AT399216T | AU2001281318A1 | DE60125596D1 | DE60125596T2 | DE60134591D1 | DK1816214T3 | EP1366185A2 | EP1366185B1 | EP1366185B9 | EP1816214A1 | EP1816214B1 | EP1930447A2 | EP1930447A3 | ES2309892T3 | JP2004514418A | US20020110823A1 | US20110183335A1 | WO2002006536A2 | WO2002006536A3
简单同族成员数量
20
简单同族被引用专利总数
32
诉讼案件数
0
法律状态/事件
撤回
抱歉,您的浏览器不支持PDF预览,请点击链接下载PDF文件