专利数据库
统计分析
产业报告
专利数据监控
产业人才
行业动态
产业政策法规
维权援助
个人中心
详情
文本
图像
标题
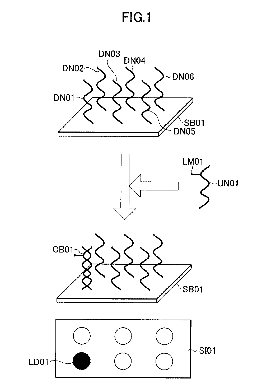
Biochip
授权日
1900-01-01
公开(公告)号
EP1127536A2
申请日
2001-02-13
公开(公告)日
2001-08-29
当前申请(专利权)人
YOKOGAWA ELECTRIC CORPORATION
发明人
TANAAMI, TAKEO
简单同族
DE60110137D1 | DE60110137T2 | EP1127536A2 | EP1127536A3 | EP1127536B1 | JP2001235468A | JP3757412B2 | US20010016321A1 | US6458545
简单同族成员数量
9
简单同族被引用专利总数
39
诉讼案件数
0
法律状态/事件
授权
抱歉,您的浏览器不支持PDF预览,请点击链接下载PDF文件