专利数据库
统计分析
产业报告
专利数据监控
产业人才
行业动态
产业政策法规
维权援助
个人中心
详情
文本
图像
标题
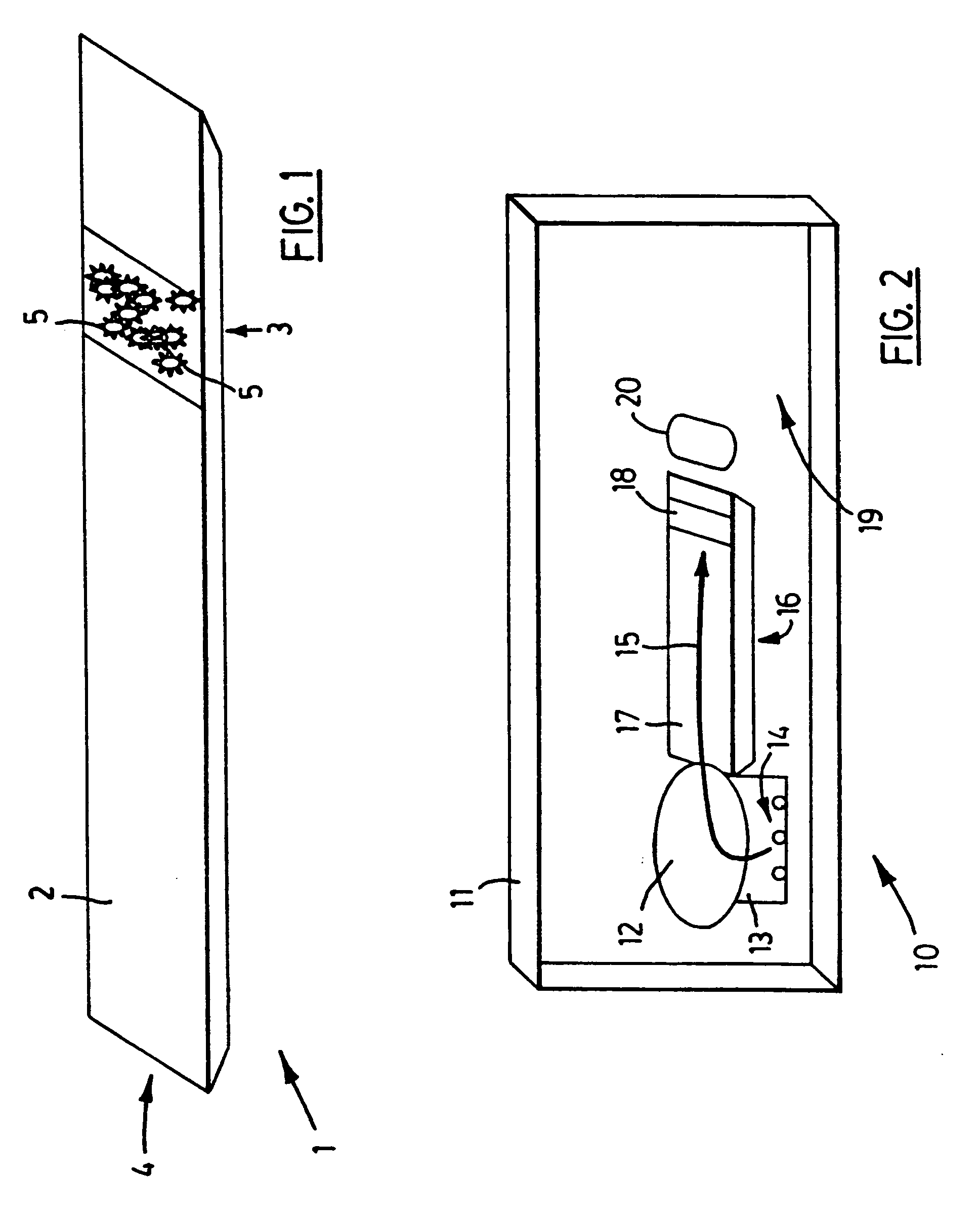
Method for conducting chemiluminescent binding assay
授权日
2007-03-07
公开(公告)号
EP1194781B1
申请日
2000-06-15
公开(公告)日
2007-03-07
当前申请(专利权)人
CARDIOGENICS INC.
发明人
GAWAD, YAHIA
简单同族
AT356355T | AU2000053828A1 | CA2375263A1 | CA2375263C | DE60033816D1 | EP1194781A1 | EP1194781B1 | JP2003502670A | WO2000079276A1
简单同族成员数量
9
简单同族被引用专利总数
32
诉讼案件数
0
法律状态/事件
权利终止
抱歉,您的浏览器不支持PDF预览,请点击链接下载PDF文件