专利数据库
统计分析
产业报告
专利数据监控
产业人才
行业动态
产业政策法规
维权援助
个人中心
详情
文本
图像
标题
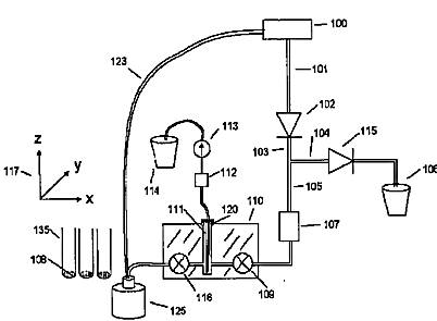
減少した試料マトリックス効果を有するアッセイ方法及び装置
授权日
1900-01-01
公开(公告)号
JP2008524604A
申请日
2005-12-20
公开(公告)日
2008-07-10
当前申请(专利权)人
バイオヴェリス コーポレイション
发明人
ブランクフォード、マーティン | デイビス、チャールズ クエンティン | マントイフェル、リチャード | コッチャー、マニッシュ | カーチス、ダニエル | ニン、チェン | マッコーマー、ポール
简单同族
CA2591591A1 | EP1839055A2 | JP2008524604A | US20060275841A1 | WO2006069023A2 | WO2006069023A3
简单同族成员数量
6
简单同族被引用专利总数
31
诉讼案件数
0
法律状态/事件
撤回
抱歉,您的浏览器不支持PDF预览,请点击链接下载PDF文件