专利数据库
统计分析
产业报告
专利数据监控
产业人才
行业动态
产业政策法规
维权援助
个人中心
详情
文本
图像
标题
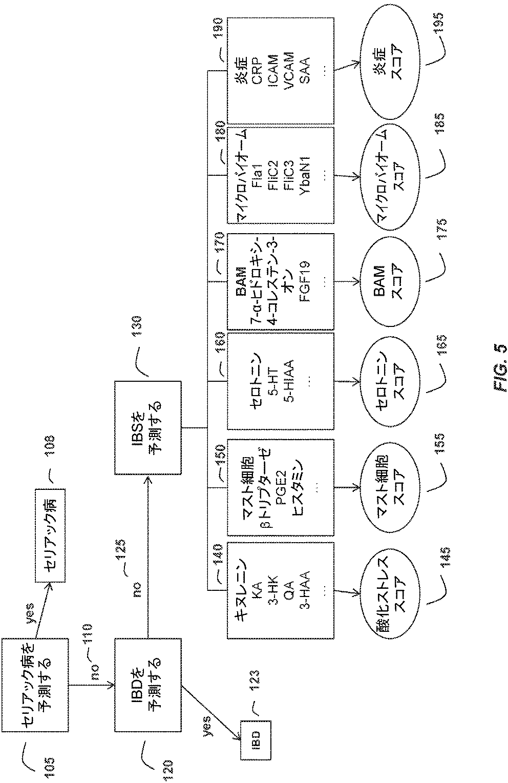
過敏性腸症候群を診断するための経路特異的マーカー
授权日
1900-01-01
公开(公告)号
JP2019194600A
申请日
2019-06-04
公开(公告)日
2019-11-07
当前申请(专利权)人
ソシエテ·デ·プロデュイ·ネスレ·エス·アー
发明人
ウェスティン, ステファン | セルヴァラジ, ファビヨラ | プリンセン, フレッド | シン, シャラット
简单同族
AU2014269960A1 | AU2014269960B2 | AU2014269961A1 | AU2018214104A1 | BR112015029318A2 | BR112015029320A2 | CA2912993A1 | CA2913108A1 | CN105392780A | CN105579852A | CN105579852B | EP3004068A2 | EP3004892A1 | EP3004892B1 | HK1223361A | HK1223416A | HK1223416A1 | IL242595A | IL242597A | JP2016520199A | JP2016520199A5 | JP2016521683A | JP2016521683A5 | JP2019151637A | JP2019194600A | KR1020160010621A | KR1020160013163A | MX367046B | RU2015155552A | RU2015155590A | SG11201509370UA | SG11201509371XA | US10036759 | US10338083 | US20160130279A1 | US20160139148A1 | US20170307637A1 | US20180136233A1 | US20180321259A1 | US9739786 | US9891235 | WO2014188377A2 | WO2014188377A3 | WO2014188378A1
简单同族成员数量
44
简单同族被引用专利总数
44
诉讼案件数
0
法律状态/事件
实质审查 | 权利转移
抱歉,您的浏览器不支持PDF预览,请点击链接下载PDF文件