专利数据库
统计分析
产业报告
专利数据监控
产业人才
行业动态
产业政策法规
维权援助
个人中心
详情
文本
图像
标题
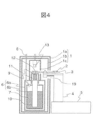
免疫検査装置及び免疫検査方法
授权日
1900-01-01
公开(公告)号
JP2005257425A
申请日
2004-03-11
公开(公告)日
2005-09-22
当前申请(专利权)人
株式会社日立製作所
发明人
関 悠介 | 塚本 晃 | 鈴木 大介 | 山岡 正作 | 杉田 奈巳 | 神鳥 明彦 | 斉藤 和夫
简单同族
JP2005257425A | JP3962385B2 | US20050202572A1 | US7993581
简单同族成员数量
4
简单同族被引用专利总数
31
诉讼案件数
0
法律状态/事件
未缴年费
抱歉,您的浏览器不支持PDF预览,请点击链接下载PDF文件