专利数据库
统计分析
产业报告
专利数据监控
产业人才
行业动态
产业政策法规
维权援助
个人中心
详情
文本
图像
标题
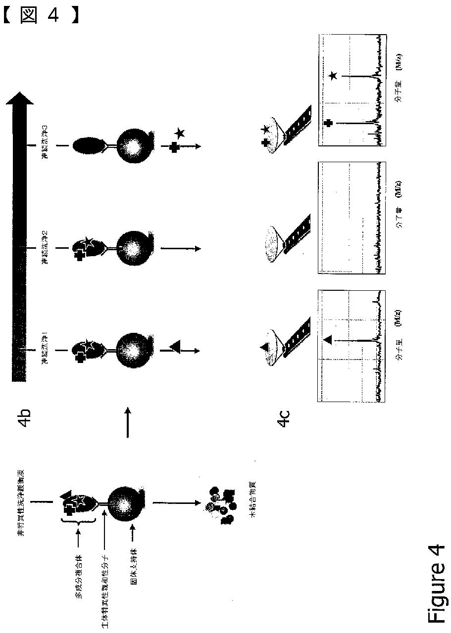
タンパク質相互作用相違マッピング
授权日
1900-01-01
公开(公告)号
JP2005534043A
申请日
2003-07-23
公开(公告)日
2005-11-10
当前申请(专利权)人
バイオ-ラッド·ラボラトリーズ·インコーポレーテッド
发明人
リッチ, ウィリアム | ボシェッティ, エジスト | ロマス, リー オー. | イップ, タイ-トゥン
简单同族
AT426808T | AU2003256806A1 | AU2003256806A8 | DE60326864D1 | EP1552302A2 | EP1552302A4 | EP1552302B1 | JP2005534043A | JP4587954B2 | US20040146937A1 | US7348184 | WO2004009798A2 | WO2004009798A3
简单同族成员数量
13
简单同族被引用专利总数
35
诉讼案件数
0
法律状态/事件
未缴年费 | 权利转移
抱歉,您的浏览器不支持PDF预览,请点击链接下载PDF文件