专利数据库
统计分析
产业报告
专利数据监控
产业人才
行业动态
产业政策法规
维权援助
个人中心
详情
文本
图像
标题
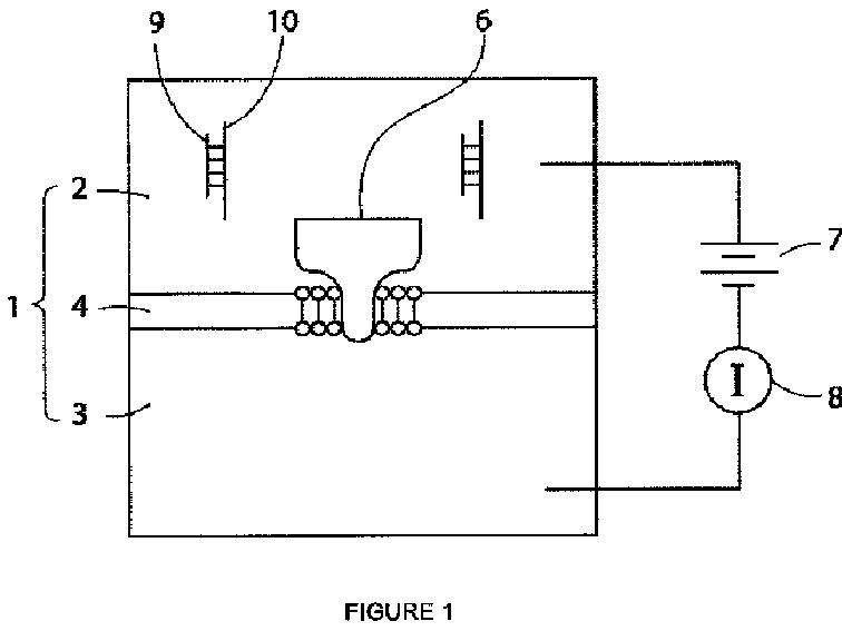
ナノポア促進型の核酸の単分子検出
授权日
1900-01-01
公开(公告)号
JP2013540423A
申请日
2011-07-14
公开(公告)日
2013-11-07
当前申请(专利权)人
ザ キュレイターズ オブ ザ ユニバーシティ オブ ミズーリ
发明人
リー-チュン グー | ヨン ワン | カイ ティアン
简单同族
AU2011279083A1 | AU2011279083B2 | CA2805247A1 | EP2593568A2 | EP2593568A4 | EP2593568B1 | EP3190193A1 | HK1185633A | HK1185633A1 | JP2013540423A | JP2013540423A5 | JP2017006135A | JP6016792B2 | JP6521916B2 | US10273527 | US20130220809A1 | US20160319333A1 | US20170002403A1 | US9395353 | US9574228 | WO2012009578A2 | WO2012009578A3
简单同族成员数量
22
简单同族被引用专利总数
64
诉讼案件数
0
法律状态/事件
授权
抱歉,您的浏览器不支持PDF预览,请点击链接下载PDF文件