专利数据库
统计分析
产业报告
专利数据监控
产业人才
行业动态
产业政策法规
维权援助
个人中心
详情
文本
图像
标题
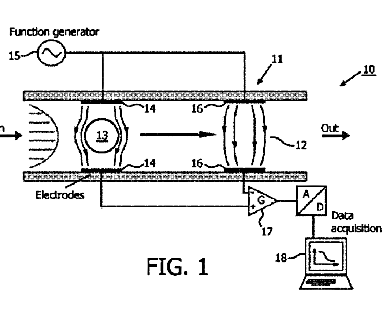
特定のマーカーを表す粒子を判別し、計数するための多重周波数インピーダンス方法及び装置
授权日
1900-01-01
公开(公告)号
JP2012529033A
申请日
2010-06-02
公开(公告)日
2012-11-15
当前申请(专利权)人
コーニンクレッカ フィリップス エレクトロニクス エヌ ヴィ
发明人
モーガン ハイウェル | ホルメス ディビッド
简单同族
BRPI1010171A2 | CN102460114A | EP2259045A1 | EP2438424A1 | JP2012529033A | KR1020120028361A | RU2011154356A | US20120142032A1 | WO2010140127A1
简单同族成员数量
9
简单同族被引用专利总数
41
诉讼案件数
0
法律状态/事件
撤回
抱歉,您的浏览器不支持PDF预览,请点击链接下载PDF文件