专利数据库
统计分析
产业报告
专利数据监控
产业人才
行业动态
产业政策法规
维权援助
个人中心
详情
文本
图像
标题
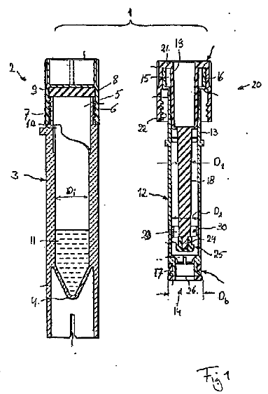
血液を分離および分析する装置並びにその方法
授权日
1900-01-01
公开(公告)号
JP2011521226A
申请日
2009-05-14
公开(公告)日
2011-07-21
当前申请(专利权)人
エフエイビープラウス ビー.ブイ.
发明人
ビエスブロウク,ゲラルダス マジェラ | グラッズ,ヨハネス フレデリカス カロルス
简单同族
AU2009247039A1 | AU2009247039B2 | BRPI0912731A2 | CA2724243A1 | CA2724243C | CA2987495A1 | CN102099683A | CN102099683B | EP2283360A1 | EP2283360B1 | JP2011521226A | JP5345677B2 | NL2001577A | NL2001577C | RU2010150907A | RU2503009C2 | US20110165589A1 | US20160103134A1 | US9182417 | WO2009139632A1
简单同族成员数量
20
简单同族被引用专利总数
33
诉讼案件数
0
法律状态/事件
未缴年费
抱歉,您的浏览器不支持PDF预览,请点击链接下载PDF文件