专利数据库
统计分析
产业报告
专利数据监控
产业人才
行业动态
产业政策法规
维权援助
个人中心
详情
文本
图像
标题
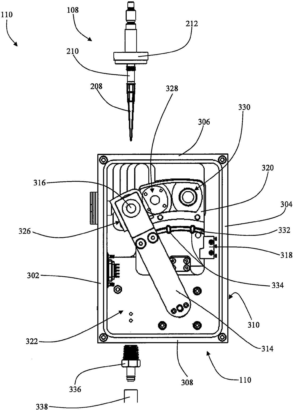
进行样本的冷光和荧光测量的装置和相关方法
授权日
1900-01-01
公开(公告)号
CN108445242A
申请日
2014-03-17
公开(公告)日
2018-08-24
当前申请(专利权)人
HYCOR生物医学有限责任公司
发明人
罗纳德·诺曼·戴尔蒙德 | 史蒂夫·迈克尔·伽恩 | 埃里克·达内尔·霍尔 | 泰·霍·黄 | 约翰·刘易斯·莫顿 | 阿纳托利·莫斯卡勒夫 | 丹尼斯·列赫尔 | 布鲁斯·艾伦·萨金特 | 马里内拉·贡波舍夫 | 马克·戴维·范·克利夫
简单同族
AU2014232782A1 | AU2014232782A8 | AU2014232782B2 | AU2014232882A1 | AU2014232882B2 | AU2018220044A1 | CA2905165A1 | CA2905178A1 | CN105308437A | CN105308437B | CN105308458A | CN105308458B | CN107817232A | CN108445242A | EP2972230A1 | EP2972361A1 | HK1220759A | HK1220760A | HK1252561A | HK1258277A | JP2016517529A | JP2016524124A | JP2019049538A | JP2019049538A5 | JP6389868B2 | JP6553020B2 | US20140273277A1 | US20140274784A1 | US20150177145A1 | US20150177146A1 | US20150204867A1 | US20150204871A1 | US20170205410A1 | US20170212110A1 | US20170212111A1 | US20170370841A1 | US20170370928A1 | US9075055 | US9651550 | US9658225 | US9658226 | US9753033 | US9766233 | WO2014145581A1 | WO2014145581A4 | WO2014145619A1 | WO2014145619A8
简单同族成员数量
47
简单同族被引用专利总数
29
诉讼案件数
0
法律状态/事件
实质审查
抱歉,您的浏览器不支持PDF预览,请点击链接下载PDF文件