专利数据库
统计分析
产业报告
专利数据监控
产业人才
行业动态
产业政策法规
维权援助
个人中心
详情
文本
图像
标题
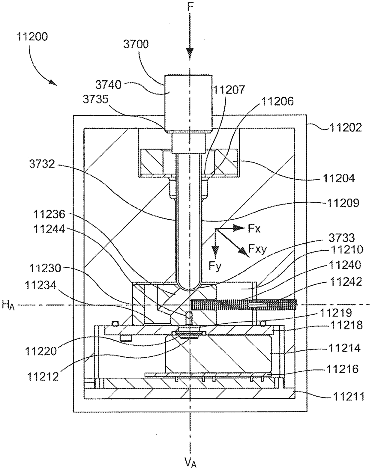
使用工程转导粒子检测细胞的系统和方法
授权日
1900-01-01
公开(公告)号
CN105209915A
申请日
2014-03-11
公开(公告)日
2015-12-30
当前申请(专利权)人
经纬生物科技有限公司
发明人
D·A·雷伊 | S·罗伊 | L·M·泰克赛拉 | R·C·格里斯沃尔德 | D·S·马修斯 | K·G·奥尔森 | B·J·理查德森 | R·V·斯特尔马彻尔 | V·H·伊
简单同族
AU2014249022A1 | AU2014249022B2 | AU2014249022C1 | AU2018203991A1 | AU2018203991B2 | AU2018214156A1 | AU2018214156B1 | BR112015022322A2 | CA2903771A1 | CN105209915A | CN105209915B | CN107604040A | EP2972354A1 | EP2972354A4 | EP2972354B1 | EP3401680A1 | ES2703601T3 | HK1217539A | HK1217539A1 | HK1242743A | JP2016519566A | JP2016519566A5 | JP2019162115A | JP6524057B2 | KR1020150126921A | KR1020190141788A | KR1020200028035A | KR102060220B1 | KR102100186B1 | MX2015011575A | MX365093B | NZ711573A | NZ750646A | NZ750646B | RU2015143532A | RU2666926C2 | SG10201804883SA | SG10201911550TA | SG11201506977SA | US10240212 | US20140272928A1 | US20140273180A1 | US20150132795A1 | US20150148261A1 | US20170152576A1 | US20190194765A1 | US8829473 | US9133497 | US9481903 | US9546391 | WO2014164768A1
简单同族成员数量
51
简单同族被引用专利总数
52
诉讼案件数
0
法律状态/事件
授权
抱歉,您的浏览器不支持PDF预览,请点击链接下载PDF文件