专利数据库
统计分析
产业报告
专利数据监控
产业人才
行业动态
产业政策法规
维权援助
个人中心
详情
文本
图像
标题
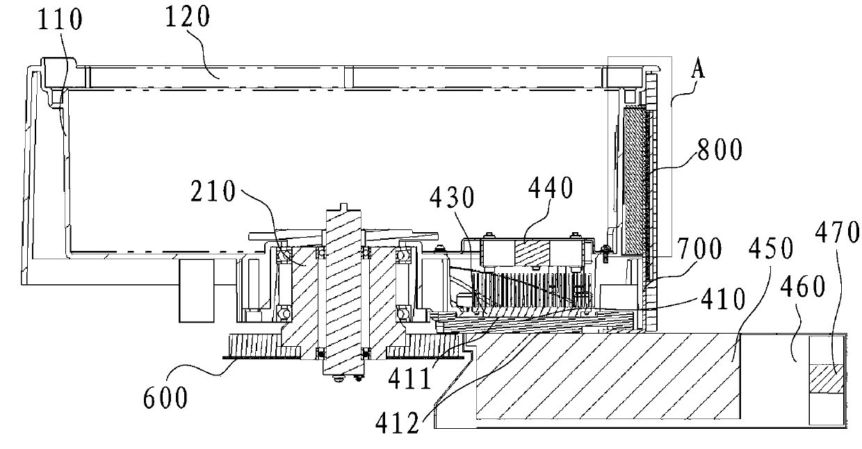
试剂装载组件、样本试剂装载装置及化学发光免疫分析仪
授权日
1900-01-01
公开(公告)号
CN110361555A
申请日
2018-03-26
公开(公告)日
2019-10-22
当前申请(专利权)人
成都深迈瑞医疗电子技术研究院有限公司 | 深圳迈瑞生物医疗电子股份有限公司
发明人
成志斌 | 祁云冬
简单同族
CN110361555A
简单同族成员数量
1
简单同族被引用专利总数
0
诉讼案件数
0
法律状态/事件
实质审查
抱歉,您的浏览器不支持PDF预览,请点击链接下载PDF文件