专利数据库
统计分析
产业报告
专利数据监控
产业人才
行业动态
产业政策法规
维权援助
个人中心
详情
文本
图像
标题
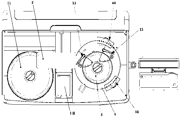
全自动化学发光免疫分析仪
授权日
2013-08-28
公开(公告)号
CN102419375B
申请日
2011-08-24
公开(公告)日
2013-08-28
当前申请(专利权)人
迈克生物股份有限公司
发明人
唐勇 | 杨卫平 | 宋小波 | 张颖 | 刘春艳 | 徐辉 | 张雷 | 吴永杰 | 王宪华
简单同族
CN102419375A | CN102419375B
简单同族成员数量
2
简单同族被引用专利总数
39
诉讼案件数
0
法律状态/事件
授权 | 许可
抱歉,您的浏览器不支持PDF预览,请点击链接下载PDF文件