专利数据库
统计分析
产业报告
专利数据监控
产业人才
行业动态
产业政策法规
维权援助
个人中心
详情
文本
图像
标题
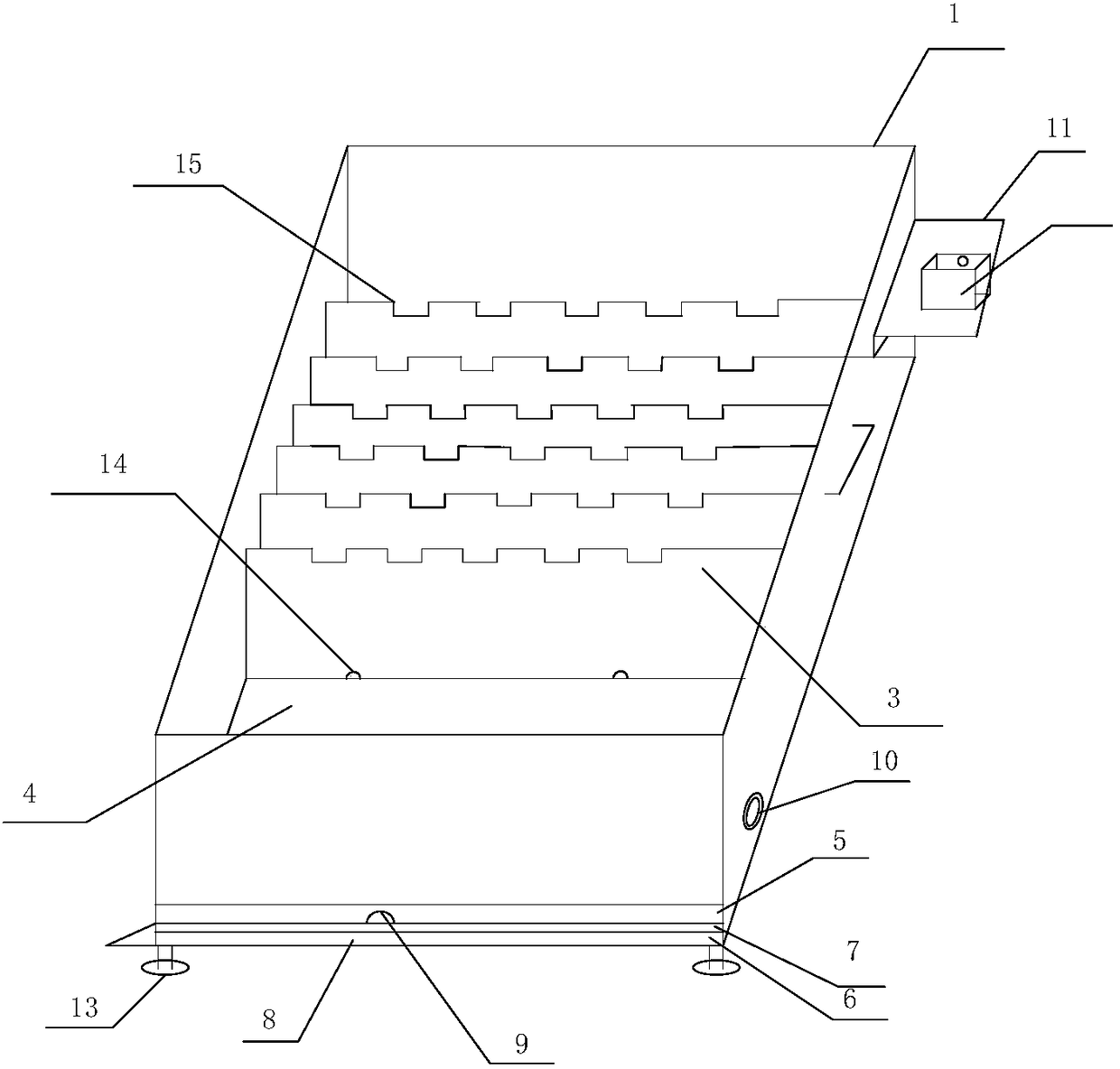
便于观察的免疫组化湿盒
授权日
2018-08-28
公开(公告)号
CN207780031U
申请日
2018-01-30
公开(公告)日
2018-08-28
当前申请(专利权)人
西安金域医学检验所有限公司
发明人
魏亚权 | 李亚兰 | 常文民 | 卜虹妍 | 张伟 | 姚建强
简单同族
CN207780031U
简单同族成员数量
1
简单同族被引用专利总数
0
诉讼案件数
0
法律状态/事件
授权
抱歉,您的浏览器不支持PDF预览,请点击链接下载PDF文件