专利数据库
统计分析
产业报告
专利数据监控
产业人才
行业动态
产业政策法规
维权援助
个人中心
详情
文本
图像
标题
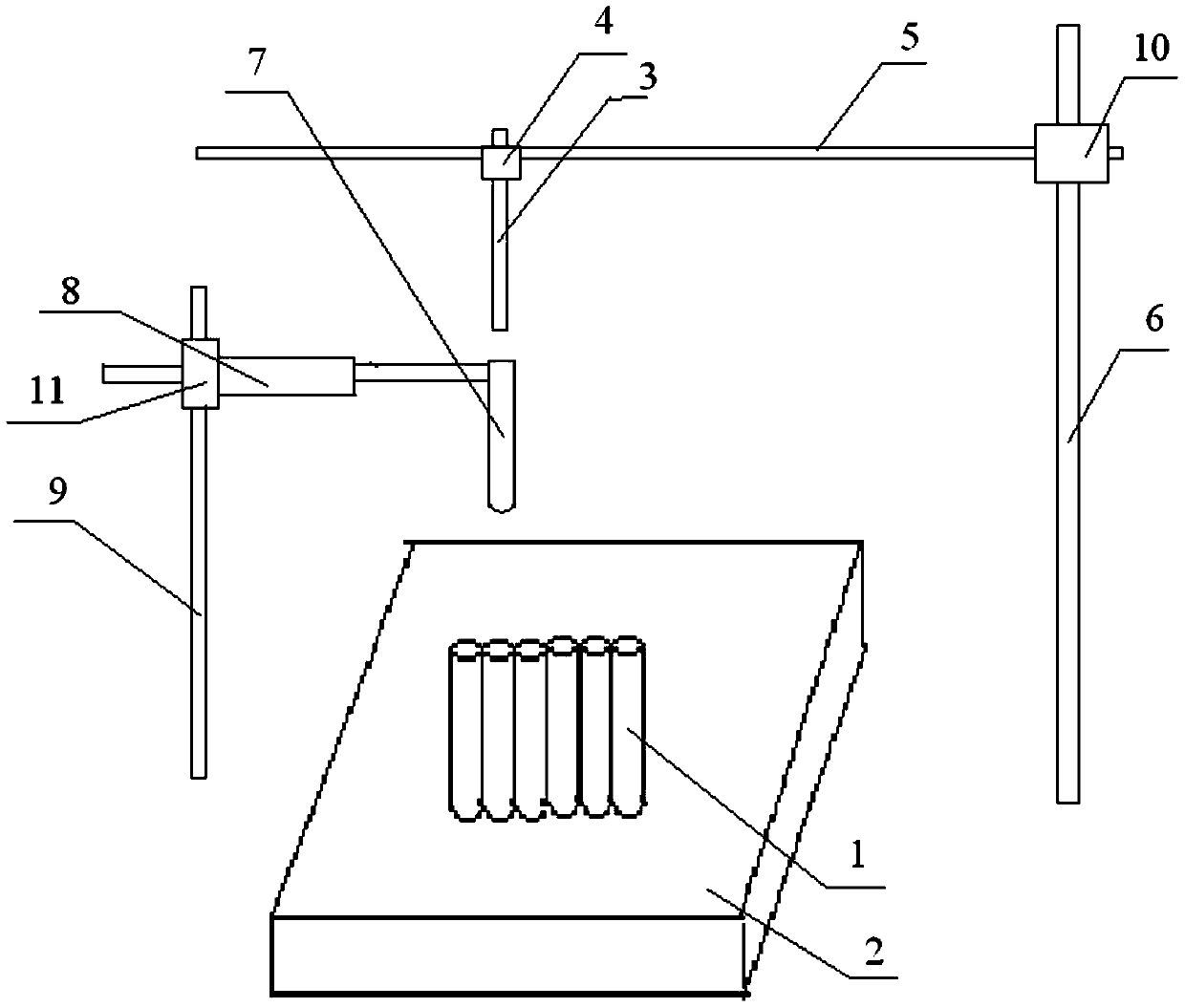
一种基于磁棒法的单人份化学发光免疫检测系统
授权日
2019-07-02
公开(公告)号
CN209055465U
申请日
2018-10-25
公开(公告)日
2019-07-02
当前申请(专利权)人
成都博奥新景医学科技有限公司
发明人
潘琴 | 张冠斌 | 田进 | 周晶 | 杨芳艳 | 高云
简单同族
CN209055465U
简单同族成员数量
1
简单同族被引用专利总数
0
诉讼案件数
0
法律状态/事件
授权
抱歉,您的浏览器不支持PDF预览,请点击链接下载PDF文件