专利数据库
统计分析
产业报告
专利数据监控
产业人才
行业动态
产业政策法规
维权援助
个人中心
详情
文本
图像
标题
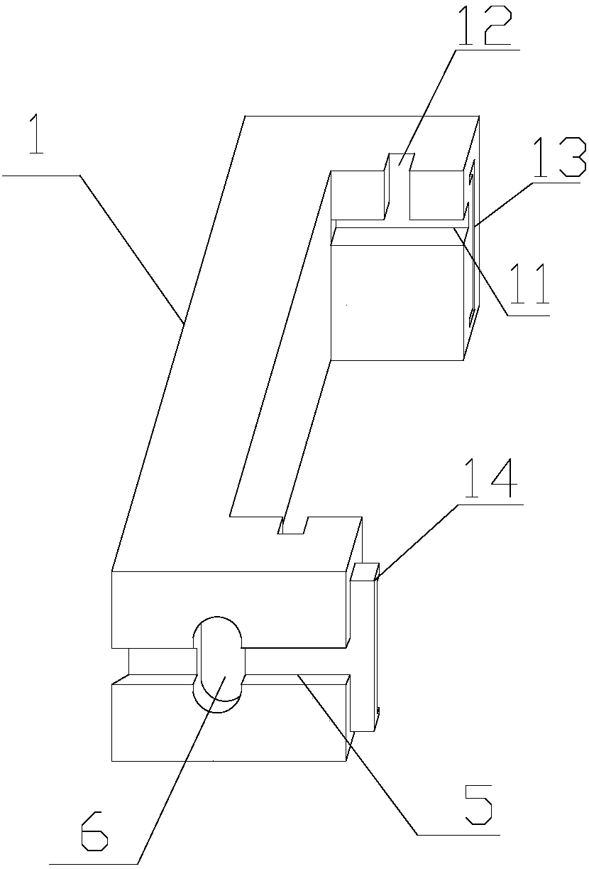
一种免疫检测用酶标板
授权日
2018-06-29
公开(公告)号
CN207557271U
申请日
2017-10-16
公开(公告)日
2018-06-29
当前申请(专利权)人
北京平安普德生物技术有限公司
发明人
方昌阁 | 李佰龙
简单同族
CN207557271U
简单同族成员数量
1
简单同族被引用专利总数
0
诉讼案件数
0
法律状态/事件
授权 | 权利转移
抱歉,您的浏览器不支持PDF预览,请点击链接下载PDF文件