专利数据库
统计分析
产业报告
专利数据监控
产业人才
行业动态
产业政策法规
维权援助
个人中心
详情
文本
图像
标题
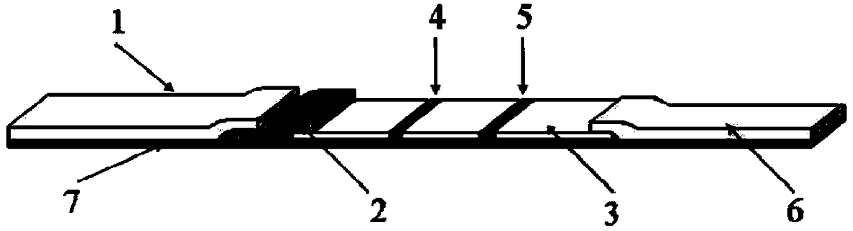
基于低噪声激发式荧光标记的副溶血弧菌免疫层析试纸条
授权日
1900-01-01
公开(公告)号
CN104483480A
申请日
2014-12-23
公开(公告)日
2015-04-01
当前申请(专利权)人
北京出入境检验检疫局检验检疫技术中心 | 中华人民共和国临沂出入境检验检疫局 | 中国检验检疫科学研究院
发明人
张捷 | 杨向莹 | 许美玲 | 邹明强 | 汪琦 | 张晓光 | 舒咬根 | 陈广全
简单同族
CN104483480A
简单同族成员数量
1
简单同族被引用专利总数
0
诉讼案件数
0
法律状态/事件
驳回
抱歉,您的浏览器不支持PDF预览,请点击链接下载PDF文件