专利数据库
统计分析
产业报告
专利数据监控
产业人才
行业动态
产业政策法规
维权援助
个人中心
详情
文本
图像
标题
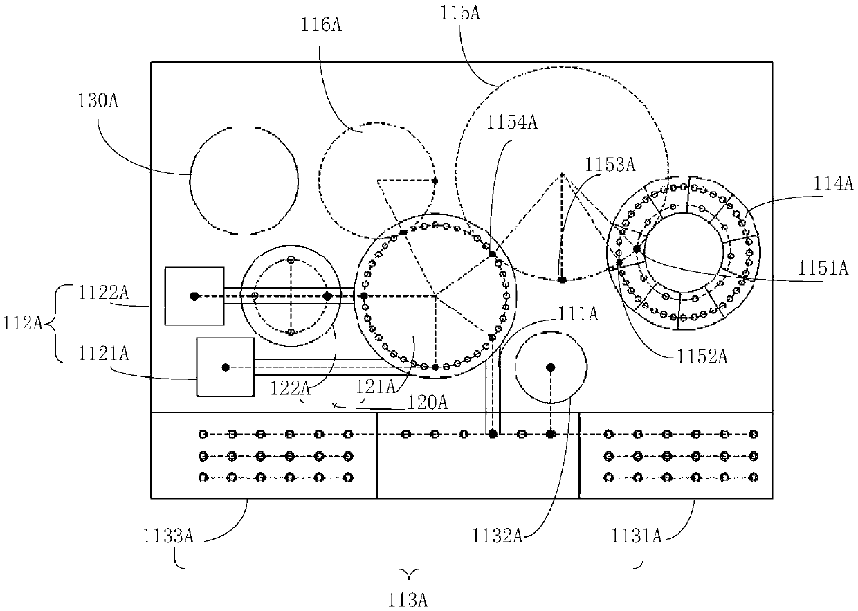
一种免疫分析仪及样本分析方法
授权日
1900-01-01
公开(公告)号
CN111257556A
申请日
2018-11-30
公开(公告)日
2020-06-09
当前申请(专利权)人
深圳市帝迈生物技术有限公司
发明人
王锐 | 刘治志
简单同族
CN111257556A
简单同族成员数量
1
简单同族被引用专利总数
0
诉讼案件数
0
法律状态/事件
实质审查
抱歉,您的浏览器不支持PDF预览,请点击链接下载PDF文件