专利数据库
统计分析
产业报告
专利数据监控
产业人才
行业动态
产业政策法规
维权援助
个人中心
详情
文本
图像
标题
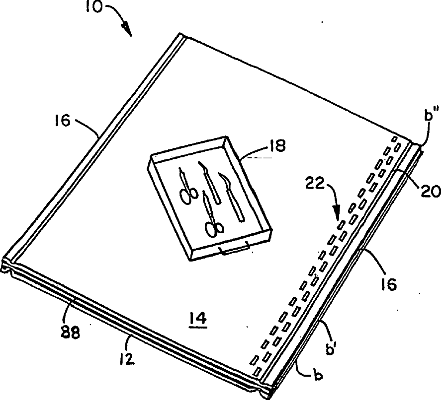
Multiple ply sterilization wrap
授权日
1900-01-01
公开(公告)号
US20060067855A1
申请日
2004-09-30
公开(公告)日
2006-03-30
当前申请(专利权)人
KIMBERLY-CLARK WORLDWIDE, INC.
发明人
MATHIS, MICHAEL PETER | STEINDORF, ERIC CLAYTON
简单同族
AT444719T | AT527955T | AU2005292653A1 | AU2005292653B2 | BRPI0514623A | BRPI0514623A2 | BRPI0514623B1 | CA2579132A1 | CN101031250A | CN101031250B | DE602005017063D1 | EP1796571A1 | EP1796571B1 | EP2077096A1 | EP2077096B1 | JP2008514520A | JP4767257B2 | KR101200141B1 | KR1020070061832A | MX2007003701A | RU2007111696A | RU2392971C2 | US20060067855A1 | WO2006038978A1
简单同族成员数量
24
简单同族被引用专利总数
36
诉讼案件数
0
法律状态/事件
撤回 | 权利转移
抱歉,您的浏览器不支持PDF预览,请点击链接下载PDF文件