专利数据库
统计分析
产业报告
专利数据监控
产业人才
行业动态
产业政策法规
维权援助
个人中心
详情
文本
图像
标题
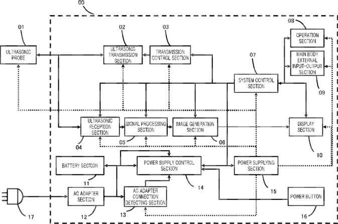
Ultrasonic diagnostic apparatus and method of controlling ultrasonic diagnostic apparatus
授权日
2017-02-28
公开(公告)号
US9579086
申请日
2014-04-18
公开(公告)日
2017-02-28
当前申请(专利权)人
KONICA MINOLTA, INC.
发明人
SATSUKA, TOMOHIKO | KIMURA, YOSUKE
简单同族
JP2014213028A | JP6236854B2 | US20140323870A1 | US9579086
简单同族成员数量
4
简单同族被引用专利总数
6
诉讼案件数
0
法律状态/事件
授权 | 权利转移
抱歉,您的浏览器不支持PDF预览,请点击链接下载PDF文件