专利数据库
统计分析
产业报告
专利数据监控
产业人才
行业动态
产业政策法规
维权援助
个人中心
详情
文本
图像
标题
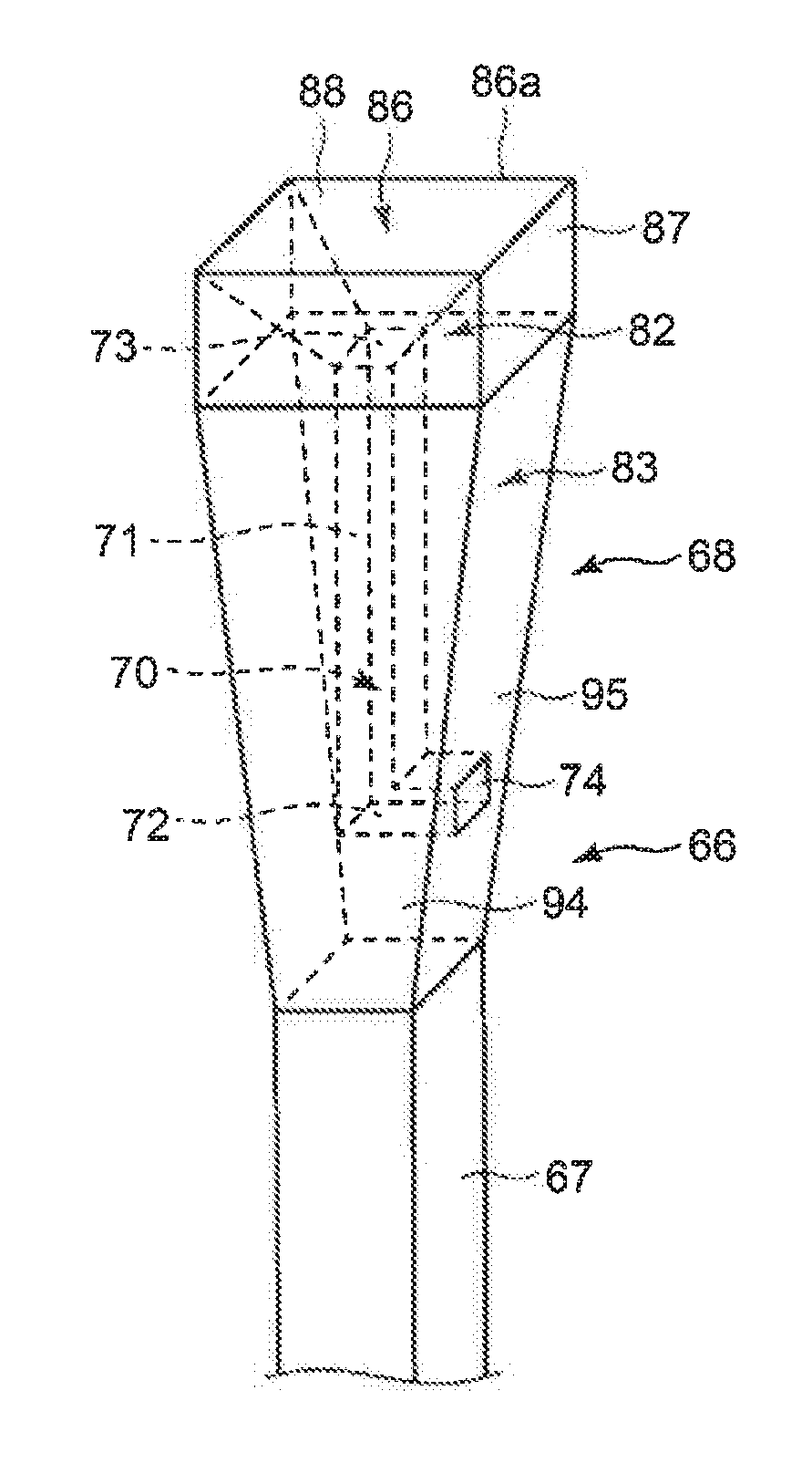
Ultrasonic probe and ultrasonic treatment tool
授权日
1900-01-01
公开(公告)号
US20190239917A1
申请日
2019-04-19
公开(公告)日
2019-08-08
当前申请(专利权)人
OLYMPUS CORPORATION
发明人
SAWADA, KIICHIRO | FUJISAKI, KEN | TANIGAMI, YASUO | YOSHIMINE, HIDETO
简单同族
JP6694516B2 | JPWO2018078827A1 | US20190239917A1 | WO2018078827A1
简单同族成员数量
4
简单同族被引用专利总数
0
诉讼案件数
0
法律状态/事件
实质审查 | 权利转移
抱歉,您的浏览器不支持PDF预览,请点击链接下载PDF文件