专利数据库
统计分析
产业报告
专利数据监控
产业人才
行业动态
产业政策法规
维权援助
个人中心
详情
文本
图像
标题
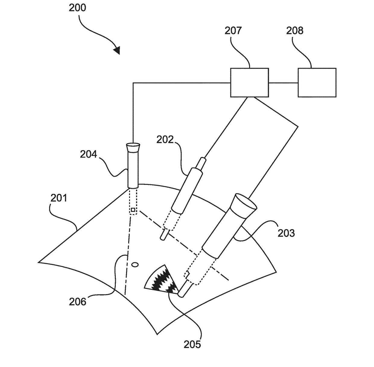
Calculation device for superimposing a laparoscopic image and an ultrasound image
授权日
1900-01-01
公开(公告)号
US20190088019A1
申请日
2017-03-15
公开(公告)日
2019-03-21
当前申请(专利权)人
KONINKLIJKE PHILIPS N.V.
发明人
PREVRHAL, SVEN | SABCZYNSKI, JORG
简单同族
CN108778143A | DE112017001315T5 | JP2019508166A | US20190088019A1 | WO2017157970A1
简单同族成员数量
5
简单同族被引用专利总数
2
诉讼案件数
0
法律状态/事件
实质审查 | 权利转移
抱歉,您的浏览器不支持PDF预览,请点击链接下载PDF文件