专利数据库
统计分析
产业报告
专利数据监控
产业人才
行业动态
产业政策法规
维权援助
个人中心
详情
文本
图像
标题
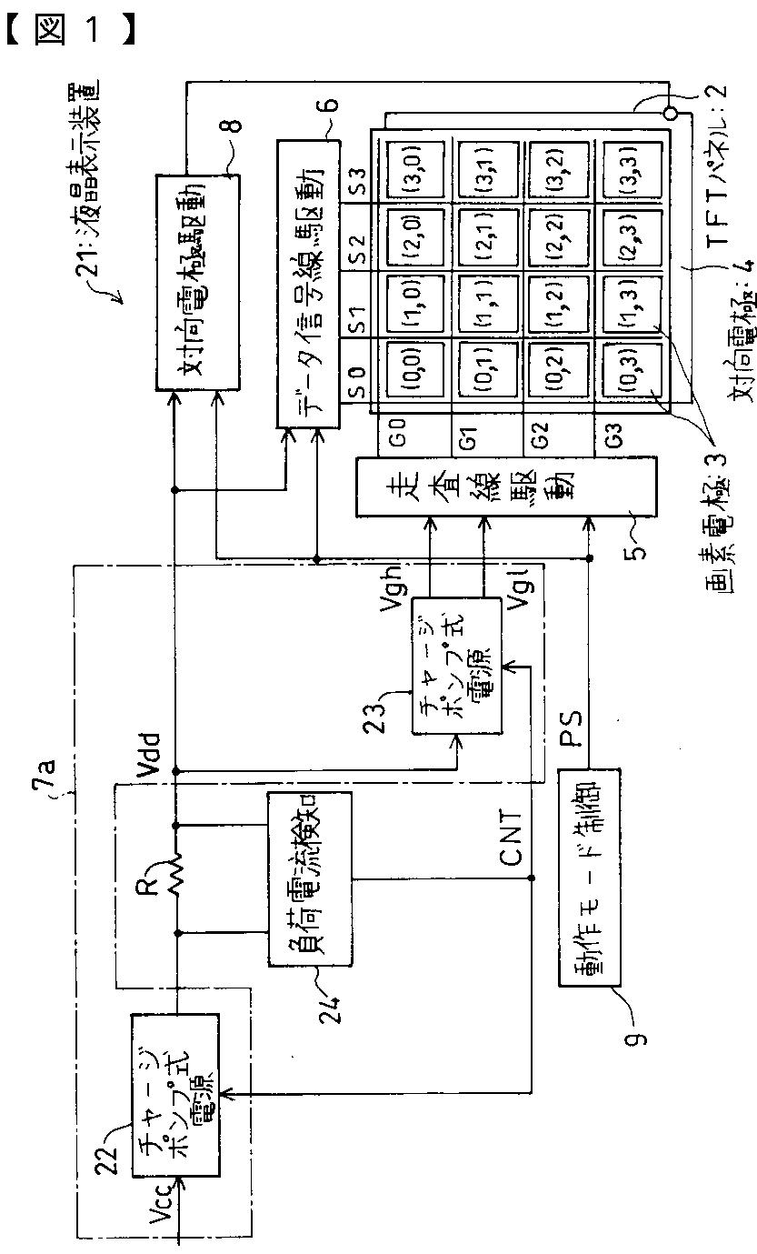
液晶表示装置ならびに携帯電子機器
授权日
2008-11-07
公开(公告)号
JP4212791B2
申请日
2001-07-23
公开(公告)日
2009-01-21
当前申请(专利权)人
シャープ株式会社
发明人
柳 俊洋 | 熊田 浩二 | 太田 隆滋
简单同族
CN1152591C | CN1339934A | DE60111314D1 | DE60111314T2 | EP1180762A2 | EP1180762A3 | EP1180762B1 | EP1376529A2 | EP1376529A3 | EP1376529B1 | JP2002123234A | JP4212791B2 | KR100428928B1 | KR1020020013748A | TW533664B | US20020036636A1 | US7126595
简单同族成员数量
17
简单同族被引用专利总数
194
诉讼案件数
0
法律状态/事件
授权 | 权利转移
抱歉,您的浏览器不支持PDF预览,请点击链接下载PDF文件