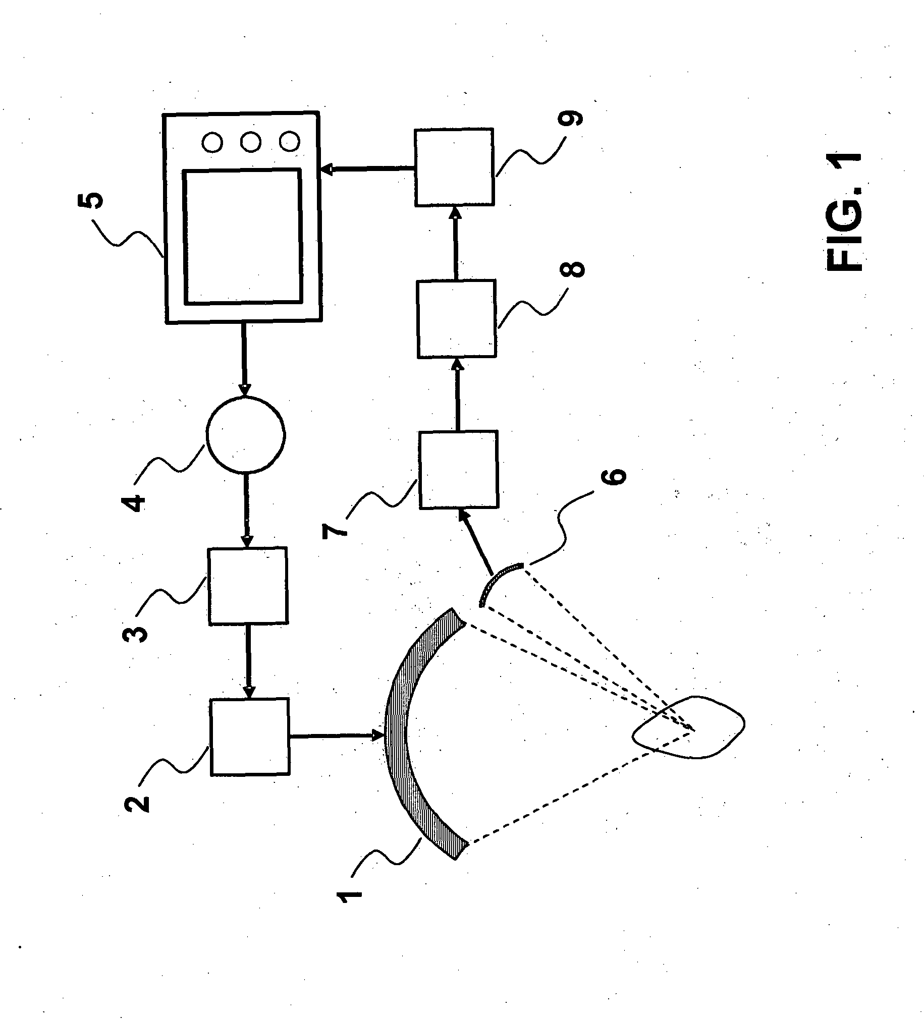
Procedure for the manufacturing of a piezoelectric ceramics radiating surface
授权日
2015-12-02
公开(公告)号
EP2106862B1
申请日
2008-07-21
公开(公告)日
2015-12-02
当前申请(专利权)人
INDIBA, S.A.
发明人
SANCHEZ SORIANO, MANUEL | AMAT GENIS, ALBERTO | BRUGUERA GUDAYOL, EDUARD | VADILLO PASTOR, JUAN RAMÓN | CORRAL BAQUÉS, MARC IGNASI | COUSSIOS, CONSTANTIN CASSIOS | KYRIAKOU, ZOE