专利数据库
统计分析
产业报告
专利数据监控
产业人才
行业动态
产业政策法规
维权援助
个人中心
详情
文本
图像
标题
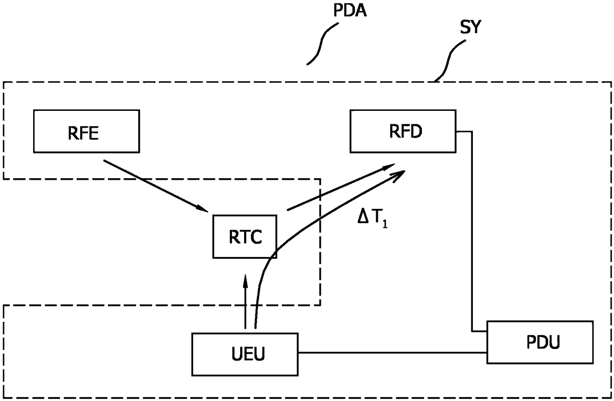
无线位置确定
授权日
1900-01-01
公开(公告)号
CN108882918A
申请日
2017-03-20
公开(公告)日
2018-11-23
当前申请(专利权)人
皇家飞利浦有限公司
发明人
W-J·A·德维吉斯 | G·J·N·都德曼 | J·J·莱森 | M·德容 | J·H·德布尔
简单同族
CN108882918A | EP3435874A1 | EP3435874B1 | EP3435874B8 | JP2019509854A | JP2019509854A5 | RU2018138151A | US20190090957A1 | WO2017167594A1
简单同族成员数量
9
简单同族被引用专利总数
2
诉讼案件数
0
法律状态/事件
实质审查
抱歉,您的浏览器不支持PDF预览,请点击链接下载PDF文件