专利数据库
统计分析
产业报告
专利数据监控
产业人才
行业动态
产业政策法规
维权援助
个人中心
详情
文本
图像
标题
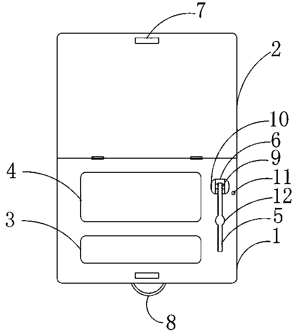
便携式出血点检测装置
授权日
2014-03-19
公开(公告)号
CN203483451U
申请日
2013-07-11
公开(公告)日
2014-03-19
当前申请(专利权)人
中国人民解放军济南军区第四〇一医院
发明人
庞继恩 | 姜靖
简单同族
CN203483451U
简单同族成员数量
1
简单同族被引用专利总数
1
诉讼案件数
0
法律状态/事件
未缴年费
抱歉,您的浏览器不支持PDF预览,请点击链接下载PDF文件