专利数据库
统计分析
产业报告
专利数据监控
产业人才
行业动态
产业政策法规
维权援助
个人中心
详情
文本
图像
标题
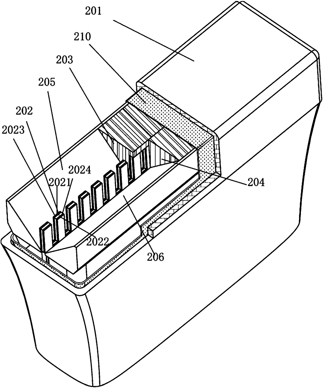
超声成像诊断阵列探头和其制造方法及其设备
授权日
1900-01-01
公开(公告)号
CN108451544A
申请日
2017-02-20
公开(公告)日
2018-08-28
当前申请(专利权)人
深圳市理邦精密仪器股份有限公司
发明人
周丹 | 莫建华 | 欧阳波 | 程玖鸫
简单同族
CN108451544A
简单同族成员数量
1
简单同族被引用专利总数
1
诉讼案件数
0
法律状态/事件
实质审查
抱歉,您的浏览器不支持PDF预览,请点击链接下载PDF文件