专利数据库
统计分析
产业报告
专利数据监控
产业人才
行业动态
产业政策法规
维权援助
个人中心
详情
文本
图像
标题
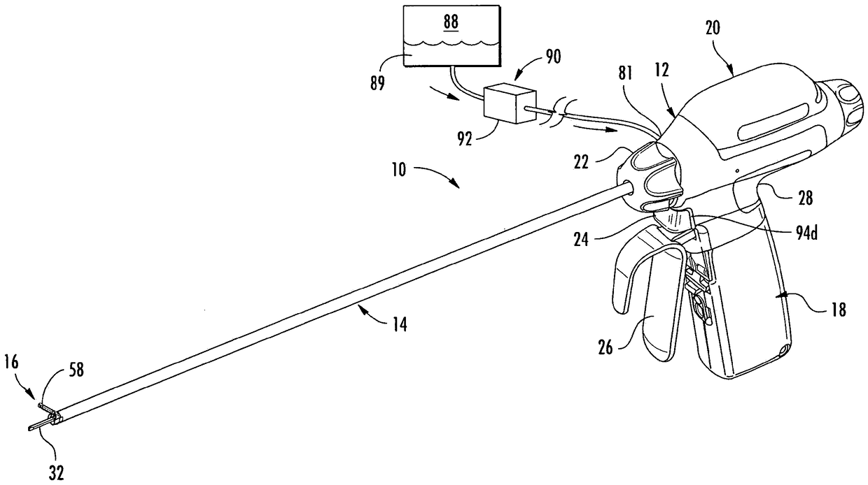
具有冷却系统的超声手术器械
授权日
2018-09-25
公开(公告)号
CN105902298B
申请日
2015-10-28
公开(公告)日
2018-09-25
当前申请(专利权)人
柯惠有限合伙公司
发明人
R·B·斯托达特 | E·R·拉森
简单同族
AU2015249032A1 | AU2015249032B2 | CN105902298A | CN105902298B | EP3061415A1 | EP3061415B1 | EP3061415B8 | JP2016154836A | JP2017148601A | JP2017148601A5 | JP6238946B2 | JP6634047B2
简单同族成员数量
12
简单同族被引用专利总数
1
诉讼案件数
0
法律状态/事件
授权
抱歉,您的浏览器不支持PDF预览,请点击链接下载PDF文件