专利数据库
统计分析
产业报告
专利数据监控
产业人才
行业动态
产业政策法规
维权援助
个人中心
详情
文本
图像
标题
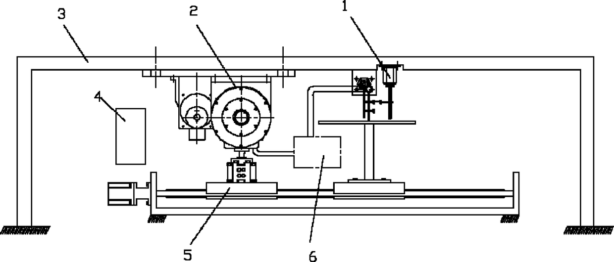
精密微皮移植机
授权日
2014-09-03
公开(公告)号
CN102783991B
申请日
2011-05-19
公开(公告)日
2014-09-03
当前申请(专利权)人
傅波
发明人
傅波 | 罗华 | 梅若愚 | 付玄 | 徐建柱 | 邓婷婷
简单同族
CN102783991A | CN102783991B
简单同族成员数量
2
简单同族被引用专利总数
0
诉讼案件数
0
法律状态/事件
未缴年费 | 权利转移
抱歉,您的浏览器不支持PDF预览,请点击链接下载PDF文件